欢迎来到知嘟嘟! 联系电话:13336804447 卖家免费入驻,海量在线求购! 卖家免费入驻,海量在线求购!
知嘟嘟
我要发布
联系电话:13336804447
知嘟嘟经纪人
收藏
专利号: 2013100497537
申请人: 西安理工大学
专利类型:发明专利
专利状态:已下证
专利领域: 测量;测试
更新日期:2024-02-23
缴费截止日期: 暂无
价格&联系人
年费信息
委托购买

摘要:

权利要求书:

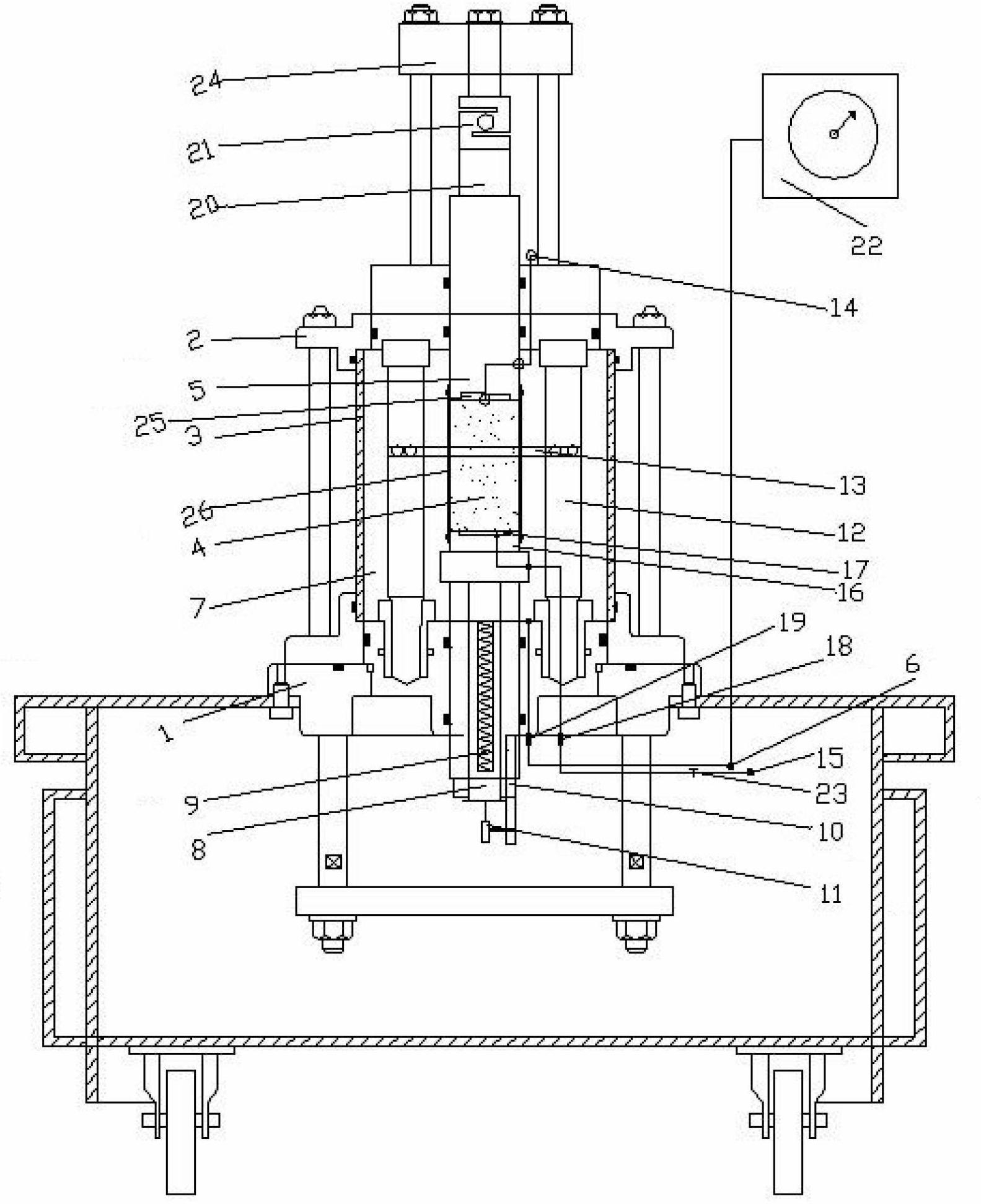
1.一种由电动缸伺服驱动的动三轴试验机,其特征在于:包括主体及控制部分,所述的主体结构是,

包括压力室底座(1),压力室底座(1)向上通过四个支撑杆与压力室顶盖(2)固定连接,压力室顶盖(2)上端面固定连接有主体支架(24),压力室顶盖(2)与压力室底座(1)之间通过侧壁筒体(3)围成压力腔(7);在压力腔(7)内腔的压力室顶盖(2)与压力室底座(1)之间另外连接有两对内钢柱(12),每对内钢柱(12)之间水平安装有一套侧向量测机构的安装座(13);

压力室底座(1)轴心纵向安装有伺服电动缸(8),伺服电动缸(8)的下端设置有竖向位移传感器(11),竖向位移传感器(11)通过安装柱(10)与压力室底座(1)下端面连接,伺服电动缸(8)的上端通过丝杆(9)与试样底座(16)连接,在试样底座(16)上表面设置有橡皮膜(26),橡皮膜(26)中用于放置试样(4),在橡皮膜(26)与试样底座(16)之间还设置有透水板(17),透水板(17)和试样底座(16)共同设置有试样排水管(15),试样排水管(15)中安装有孔隙水压力传感器(18)及排水阀门(23),压力腔(7)通过气源通道(6)与压力表(22)联通,气源通道(6)中安装有围压传感器(19);

橡皮膜(26)的上端面设置有试样帽(5),橡皮膜(26)与试样帽(5)之间还设置有上排气板(25),上排气板(25)与试样帽(5)共同设置有排气通道(14);试样帽(5)向上与竖向传力轴(20)连接,轴向传力杆(20)上安装有轴向压力传感器(21),竖向传力轴(20)向上与主体支架(24)连接。

2.根据权利要求1所述的由电动缸伺服驱动的动三轴试验机,其特征在于:所述的侧向量测机构的结构是,二组安装座(13)水平安装在压力腔(7)内的内钢柱(12)上,在每组安装座(13)正面开有通槽,通槽口通过螺钉(30)安装有触变式传感器(28),安装座(13)通过销钉(29)与“L”型连杆(27)连接,“L”型连杆(27)并以销钉(29)为转动轴心,“L”型连杆(27)的一端头用于接触试样(4),另一端头伸过通槽后与触变式传感器(28)的触点对应,触变式传感器(28)与控制部分连接。

3.根据权利要求1或2所述的由电动缸伺服驱动的动三轴试验机,其特征在于:所述的橡皮膜(26)的上、下两端设置有开口。

4.根据权利要求3所述的由电动缸伺服驱动的动三轴试验机,其特征在于:所述的伺服电动缸(8)的连接结构是,包括在伺服电动缸(8)的缸体(32)外安装有电源接头(33),在缸体(32)内部设置有伺服电机,伺服电机输出轴通过行星式滚珠环(34)与丝杆(9)同轴套接,伺服电动缸(8)上设置有自己的位移传感器(40)。

5.根据权利要求4所述的由电动缸伺服驱动的动三轴试验机,其特征在于:所述的控制部分的结构是,孔隙水压力传感器(18)、轴向位移传感器(11)、轴向压力传感器(21)、触变式传感器(28)、围压传感器(19)同时与信号调理器(35)的输入端连接,信号调理器(35)的输出端通过A/D转换器(36)与单片机(37)连接,单片机(37)与伺服电动缸(8)连接,伺服电动缸(8)通过位移传感器(40)与信号调理器(35)反馈连接;单片机(37)另外与计算机(38)和键盘(39)同时连接。

我要求购
我不想找了,帮我找吧
您有专利需要变现?
我要出售
智能匹配需求,快速出售