欢迎来到知嘟嘟! 联系电话:13336804447 卖家免费入驻,海量在线求购! 卖家免费入驻,海量在线求购!
知嘟嘟
我要发布
联系电话:13336804447
知嘟嘟经纪人
收藏
专利号: 2013100421097
申请人: 韩林元
专利类型:发明专利
专利状态:已下证
专利领域: 压力机
更新日期:2024-12-11
缴费截止日期: 暂无
价格&联系人
年费信息
委托购买

摘要:

权利要求书:

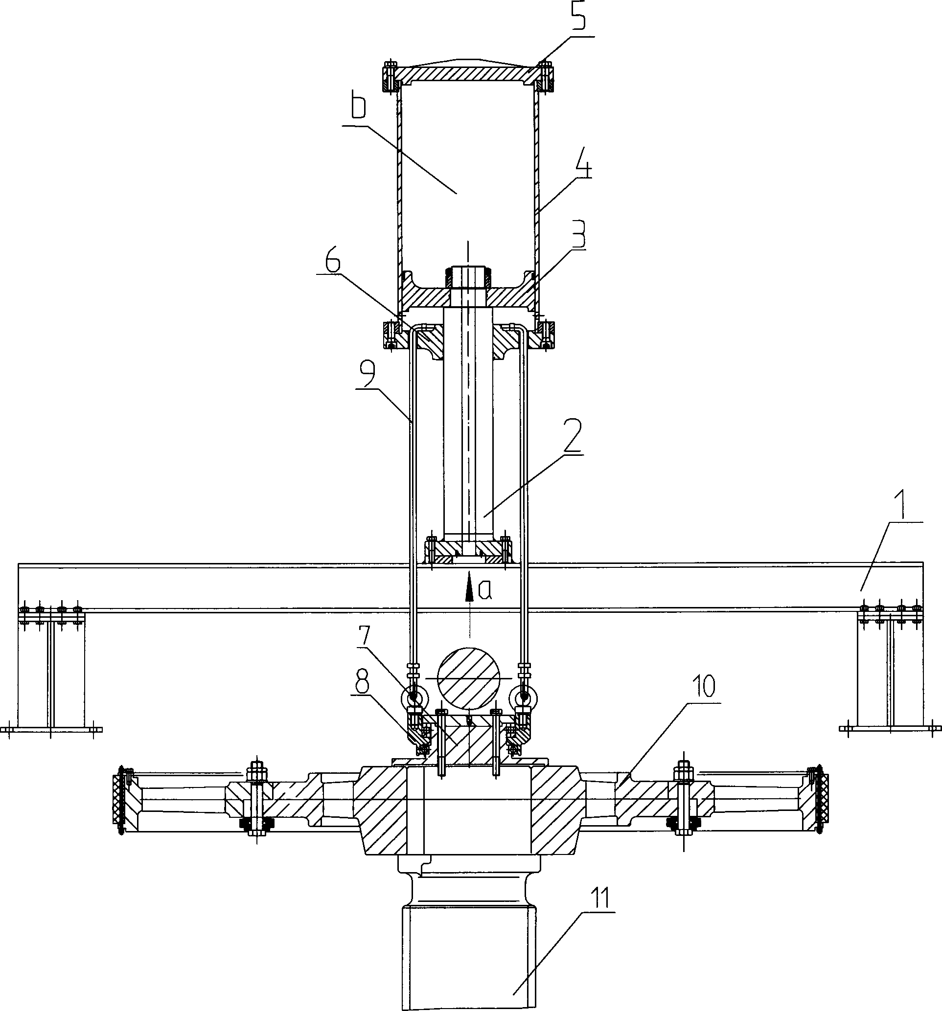
1.一种摩擦螺旋压力机提升机构,其特征在于,包括支架,一端安装在支架上并带有中心孔的立式活塞杆,立式活塞杆另一端连接的活塞,安装在活塞上的气缸缸体,安装在气缸缸体上端的顶盖,安装在气缸缸体下端的底盖,安装在压力机飞轮上端面中部上的轴承座,安装在轴承座上的轴承体,悬挂在气缸底盖上、且两端与轴承体相连的悬挂钢绳。

我要求购
我不想找了,帮我找吧
您有专利需要变现?
我要出售
智能匹配需求,快速出售