欢迎来到知嘟嘟! 联系电话:13336804447 卖家免费入驻,海量在线求购! 卖家免费入驻,海量在线求购!
知嘟嘟
我要发布
联系电话:13336804447
知嘟嘟经纪人
收藏
专利号: 2012105936822
申请人: 浙江工业大学
专利类型:发明专利
专利状态:已下证
专利领域: 工程元件或部件;为产生和保持机器或设备的有效运行的一般措施;一般绝热
更新日期:2024-12-11
缴费截止日期: 暂无
价格&联系人
年费信息
委托购买

摘要:

权利要求书:

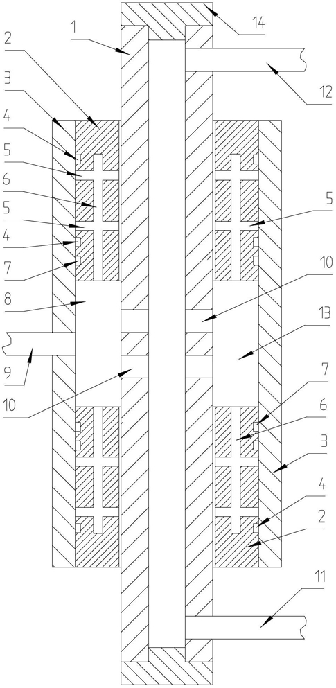
1.一种可实现串联供气的旋转供气装置,其特征在于:包括气浮轴、一对气浮套和储气套,所述气浮轴套装在气浮套内,所述气浮套有两个,所述气浮套外围与储气套固定,所述储气套与两气浮套、气浮轴之间形成高压腔,所述储气套上有进气口且与高压腔连通,所述气浮轴中心有轴向通孔,所述气浮轴两端通过端盖密封,所述气浮轴上下两端有出气口,所述气浮轴位于高压腔部分均布多个径向通孔;所述气浮套沿圆周方向均布节流孔,所述节流孔至少有两组,所述气浮套从高压腔一侧端面沿轴向打盲孔形成进气孔,所述进气孔与节流孔相通,所述气浮套两端与储气套密封连接,所述气浮套靠近高压腔一测沿圆周上均布泄气孔,所述泄气孔与进气孔之间有夹角且相互隔离,所述泄气孔所在圆周面上开一圈泄气槽,所述储气套上打通孔与泄气槽相通。

2.如权利要求1所述的一种可实现串联供气的旋转供气装置,其特征在于:所述气浮轴上下两端的出气口通过气管连通。

3.如权利要求1或2所述的一种可实现串联供气的旋转供气装置,其特征在于:所述气浮套两端有密封凹槽,所述密封凹槽内安装O型圈密封。