欢迎来到知嘟嘟! 联系电话:13336804447 卖家免费入驻,海量在线求购! 卖家免费入驻,海量在线求购!
知嘟嘟
我要发布
联系电话:13336804447
知嘟嘟经纪人
收藏
专利号: 2012104403178
申请人: 浙江理工大学
专利类型:发明专利
专利状态:已下证
专利领域: 测量;测试
更新日期:2024-01-05
缴费截止日期: 暂无
价格&联系人
年费信息
委托购买

摘要:

权利要求书:

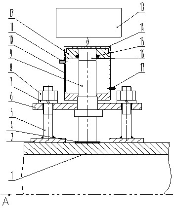
1.一种高温管道壁厚在线监测装置,其特征在于:包括两副均由两半圆环组成的管

夹(2)、四个螺柱(5)、导波杆(9)、压板(6)、铜片(4)、压盖(14)、柱塞(12)、氟橡胶密封圈(15)、水冷套(10)、超声波测厚主机(13)和超声波探头(16);高温管道(1)夹持在两副均由两半圆环组成的管夹(2)内固定连接,其中同侧的两半圆环管夹分别焊接两个螺柱,使四个螺柱(5)呈方形;方形的四个螺柱(5)中部设置有阶梯形的导波杆(9),朝向高温管道(1)一侧的导波杆(9)端面设有铜片(4),四个螺柱(5)和阶梯形的导波杆(9)穿过压板(6)后,四个螺柱(5)分别用弹簧垫圈(7)和螺母(8)固定并压在导波杆(9)的轴肩上,背离高温管道(1)一侧的导波杆(9)端面设置超声波探头(16),导波杆(9)和超声波探头(16)均位于水冷套(10)内,水冷套(10)下端阶梯孔与导波杆(9)轴肩过盈配合,超声波探头(16)位于柱塞(12)中心孔中,用氟橡胶密封圈(15)密封,水冷套(10)上端大孔与柱塞(12)固接,压盖(14)与柱塞(12)螺纹连接,压盖(14)压在超声波探头(16)端面,超声波探头(16)通过电缆线与超声波测厚主机(13)连接;水冷套(10)上下分别有出水口(11)和进水口(17)。

2.根据权利要求1所述的一种高温管道壁厚在线监测装置,其特征在于:所述的铜片

(4)厚度为1~3mm,且为超声波半波长的整数倍。

3.根据权利要求1所述的一种高温管道壁厚在线监测装置,其特征在于:所述的导波

杆(9)为不锈钢,导波杆(9)顶端外径与超声波探头(16)外径相同。