欢迎来到知嘟嘟! 联系电话:13336804447 卖家免费入驻,海量在线求购! 卖家免费入驻,海量在线求购!
知嘟嘟
我要发布
联系电话:13336804447
知嘟嘟经纪人
收藏
专利号: 2011102038387
申请人: 大连交通大学
专利类型:发明专利
专利状态:已下证
专利领域: 工程元件或部件;为产生和保持机器或设备的有效运行的一般措施;一般绝热
更新日期:2024-01-05
缴费截止日期: 暂无
价格&联系人
年费信息
委托购买

摘要:

权利要求书:

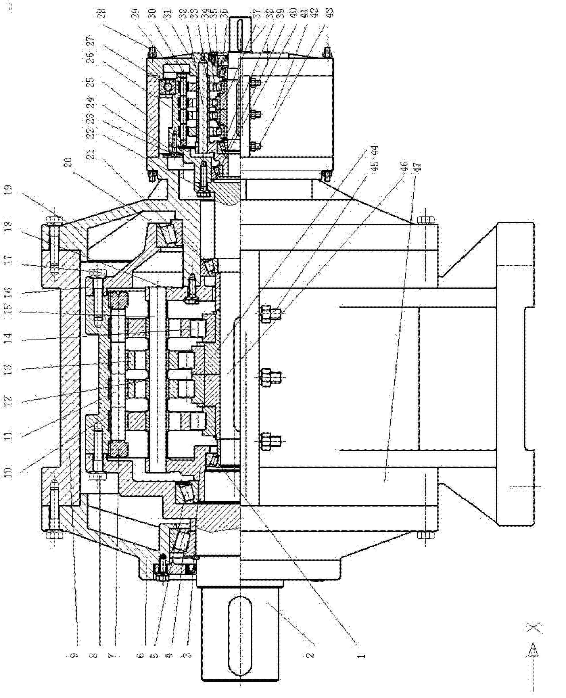
1.多级针轮输出针摆行星传动减速器,包括基本针轮输出针摆行星传动型式的传动结构,基本针轮输出针摆行星传动型式的传动结构主要包括输入轴(38)、输入轴支撑轴承(36、39)、柱销支撑盘(40)、箱体(31、25、42)、偏心套(37)、摆线轮(34)、转臂轴承(35)、柱销套(33)、柱销(32)、柱销支撑盘(40)、针齿销套(29)、针轮(26)、针轮输出盘(24)和针轮支撑轴承(27),箱体包括用联接螺栓(43、28)联接的输入端箱盖(31)、输出端箱盖、上箱体(25)和下箱体(42);摆线轮(34)两片一组,共四片,每一片摆线轮对应一个转臂轴承,摆线轮(34)在空间平动的过程中与针齿销套组(29)啮合传动完成针摆行星传动;针轮(26)一端与输出盘(24)固定联接;柱销(32)左端固定联接在柱销支撑盘(40)上,右端固定联接在输入端箱盖(31)上,其特征在于,所述多级针轮输出针摆行星传动减速器包括第一级传动结构和串联式的第二级传动结构或第二级以后的传动结构;所述第一级传动结构为基本针轮输出针摆行星传动型式的传动结构;所述第二级传动结构箱体的输入端箱盖是联接法兰(19),联接法兰(19)中心部位带有轴承孔,联接法兰(19)一端固定联接在第二级传动结构上箱体(9)和下箱体(47)上,另一端固定联接在第一级传动结构的上箱体(25)和下箱体(42)上,联接法兰(19)既是第二级传动结构箱体的输入端箱盖又是第一阶传动结构的输出端箱盖;所述第二级传动结构还包括第二级针轮右支撑盘(16);所述第二级传动结构柱销支撑盘(3、18)包括第二级柱销左侧支撑盘(3)和第二级柱销右侧支撑盘(18),所述第二级传动结构输出盘(2)上带有输出轴,所述第二级传动结构输入轴(46)与第一级传动结构输出盘(24)固定联接,所述第二级传动结构柱销(15)固定在第二级柱销左右两侧支撑盘(3、18)上,第二级柱销右侧支撑盘(18)固定在联接法兰(19)上,第二级柱销左侧支撑盘(3)通过支撑盘支撑轴承(5)支撑在第二级传动结构输出盘(2)内轴承孔中,所述第二级传动结构针轮(10)一端固定在第二级针轮右支撑盘(16)上,另一端固定在第二级传动结构输出盘(2)上,第二级针轮右支撑盘(16)通过第二级针轮右支撑盘支撑轴承(20)支撑在联接法兰(19)轴承孔外表面,所述第二级传动结构输出盘(2)通过第二级传动结构输出轴支撑轴承(4)支撑在第二级传动结构输出轴端箱盖(6)的轴承孔内,所述第二级传动结构输入轴(46)右端通过第二级输入轴支撑轴承(21)支撑在联接法兰(19)的轴承孔内,左端通过第二级输入轴支撑轴承(1)支撑在第二级柱销左侧支撑盘(3)轴承孔内;第二级输出轴与下一级传动结构的输入轴联接,依此类推,上一级传动结构的输出轴与下一级传动结构的输入轴联接,形成需要的传动级。

2.根据权利要求1所述多级针轮输出针摆行星传动减速器,其特征在于所述第一级传动结构针轮(26)一端通过第一级传动结构的第一级针轮支撑轴承支撑在第一级传动结构的箱体(25)、(42)上,另一端通过与之固定联接的第一级传动结构的输出盘支撑在联接法兰(19)上,第二级传动结构输入轴右端支撑轴承(21)既是第二级传动结构输入轴的右端支撑轴承又是第一级传动结构的输出盘支撑轴承。