欢迎来到知嘟嘟! 联系电话:13336804447 卖家免费入驻,海量在线求购! 卖家免费入驻,海量在线求购!
知嘟嘟
我要发布
联系电话:13336804447
知嘟嘟经纪人
收藏
专利号: 2011100251909
申请人: 浙江工业大学
专利类型:发明专利
专利状态:已下证
专利领域: 流体压力执行机构;一般液压技术和气动技术
更新日期:2023-08-24
缴费截止日期: 暂无
价格&联系人
年费信息
委托购买

摘要:

权利要求书:

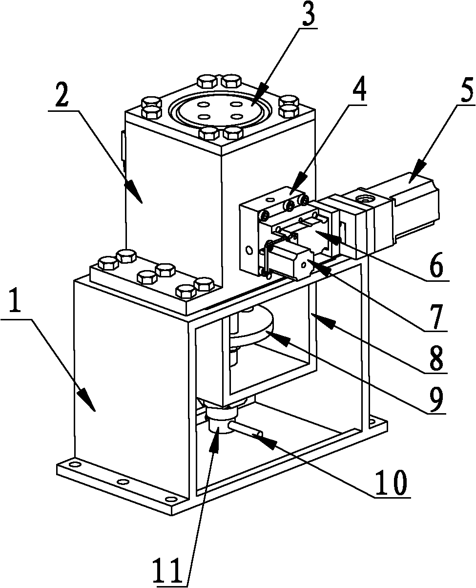
1.一种高频电液颤振发生器,包括交流阀和颤振缸,所述颤振缸包括缸体,所述缸体侧壁开有一个进出油孔,所述交流阀包括阀体、阀套、阀芯及驱动阀芯转动的转动动力机构和驱动阀芯滑动的滑动动力机构;所述阀体上设有一个进油口、一个出油口和一个回油口,所述出油口与所述进出油孔连通,所述进油口和回油口与液压油源连通;所述阀体内开有供阀芯插入的阀腔,所述阀芯外套装阀套,其特征在于:所述缸体内部为环状容腔,所述进油口通过缸体底部的油孔与缸体中间柱中心的油孔相连通,所述缸体的一端安装与负载连接的弹性端盖,所述缸体另一端安装固定端盖,所述缸体内安装活塞,所述活塞与所述缸体的侧壁和中间柱壁密封连接,所述活塞与用以带动活塞上下移动的活塞驱动机构连接,所述活塞将环状容腔分为上腔和下腔,所述上腔和下腔的缸体内壁均开有平衡油口,两个平衡油口通过平衡油道连通,所述平衡油道上安装高压球阀。

2.如权利要求1所述的高频电液颤振发生器,其特征在于:所述活塞驱动机构包括活塞杆、连接板和丝杆,所述活塞与所述活塞杆的一端固定连接,所述活塞杆的另一端与连接板固定连接,所述连接板与丝杆的一端通过卡环连接,所述丝杆设有外螺纹段,所述外螺纹段安装在丝杠支座的螺纹孔内,紧固螺母安装在所述外螺纹段上,所述丝杠支座与所述缸体固定连接,所述缸体安装在固定支架上。

3.如权利要求2所述的高频电液颤振发生器,其特征在于:所述活塞的另一端安装调节杆。

4.如权利要求1~3之一所述的高频电液颤振发生器,其特征在于:所述交流阀中,阀芯上有4个台肩,其中外侧两个台肩为支承台肩,内侧两个台肩在周向分别均匀加工Z1个槽口,Z1为偶数,且Z1≥4两个台肩上的槽口相互错位;阀套沿轴向开4组窗口,相邻窗口之间的间距与内侧两个台肩之间的间距相等,中间其中1组窗口沿周向均匀开设Z2个T型窗口, Z2为偶数,Z2= Z1+2个,其他3组沿周向均匀开设Z2个矩形窗口,从径向截面方向来看,各组窗口的位置一致。

5.如权利要求1~3之一所述的高频电液颤振发生器,其特征在于:所述缸体中间柱中心的油孔与所述弹性端盖正对。