欢迎来到知嘟嘟! 联系电话:13095918853 卖家免费入驻,海量在线求购! 卖家免费入驻,海量在线求购!
知嘟嘟
我要发布
联系电话:13095918853
知嘟嘟经纪人
收藏
专利号: 2008100465395
申请人: 西南交通大学
专利类型:发明专利
专利状态:已下证
专利领域: 测量;测试
更新日期:2024-01-05
缴费截止日期: 暂无
价格&联系人
年费信息
委托购买

摘要:

权利要求书:

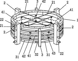
1、一种水压、土压独立加载的盾构隧道结构原型试验装置,其组成是:

a、土压加载装置在水平放置的盾构隧道结构原型(1)外表面均匀地布置 四条对拉梁(2);相对的两对拉梁(2)通过对拉锚索(21)连接,其连接的具 体方式为:对拉锚索(21)的一端与对拉梁(2)连接,另一端穿过相对的对拉 梁(2)后与固定于该对拉梁(2)外侧的对拉千斤顶(22)相连;

b、水压加载装置在水平放置的盾构隧道结构原型(1)外表面布置环箍 梁(3),二条或二条以上的环箍锚索(31)一端固定在环箍梁(3)的一侧,另 一端绕隧道表面一周后,与固定在环箍梁(3)另一侧的环箍千斤顶(32)相连;

c、测试装置盾构隧道结构原型(1)的表面上贴有应变片(41)、测缝计 (42)及位移计(43);应变片(41)、测缝计(42)、位移计(43)均与数据处 理及控制器电连接。

2、如权利要求1所述的一种水压、土压独立加载的盾构隧道结构原型试验 装置,其特征在于:所述的环箍梁(3)为两个,两条或两条以上的环箍锚索(31) 交替地固定在两个环箍梁(3)。