欢迎来到知嘟嘟! 联系电话:13336804447 卖家免费入驻,海量在线求购! 卖家免费入驻,海量在线求购!
知嘟嘟
我要发布
联系电话:13336804447
知嘟嘟经纪人
收藏
专利号: 2008100456150
申请人: 西南交通大学
专利类型:发明专利
专利状态:已下证
专利领域: 测量;测试
更新日期:2024-01-05
缴费截止日期: 暂无
价格&联系人
年费信息
委托购买

摘要:

权利要求书:

1.一种水下盾构隧道结构的水压原型试验方法,其作法是:

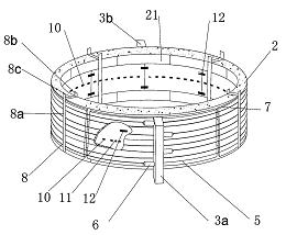
A、安装环箍锚索将预埋有应变计、钢筋计的盾构隧道管片(21)拼装成短圆筒状隧道结构(2),然后将所述隧道结构(2)置于地面,其中轴线垂直于地面;竖直的前、后两个环箍梁(3a、3b)对称地设置于所述隧道结构(2)的外表面,竖向分布的二根以上的带载荷计的环箍锚索(5)交替地锚固在前、后环箍梁(3a、3b)上,环箍锚索(5)绕所述隧道结构(2)表面一周后的另一端则固定在对应环箍梁(3a、3b)的千斤顶(6)的顶杆上;

B、垫设减摩层在所述隧道结构(2)与环箍锚索(5)之间垫设弧度为250-290°圆弧形的聚四氟乙烯减摩层(7),该圆弧形减摩层(7)对称地分布于前、后环箍梁(3a、3b)之间,所述减摩层(7)从位于前环箍梁(3a)处的部分起至所述减摩层(7)的两端部止各分为摩擦系数递减的3-5段;

C、测试仪器的布置将多个应变片(10)粘贴于所述管片(21)的内表面及外表面上,测缝计(12)安装在所述管片(21)连接处的内表面及外表面上,位移计(11)安装于所述隧道结构(2)的内表面;

D、测试使千斤顶(6)的顶杆向外顶出,将环箍锚索(5)拉紧,对所述隧道结构(2)施以径向压力,同时通过应变片(10)、位移计(11)、测缝计(12)和应变计、钢筋计对加载的载荷量及所述隧道结构(2)的力学性能参数进行测试,并将测试数据输入计算机分析计算,得到测试结果。

2.根据权利要求1所述的一种水下盾构隧道结构的水压原型试验方法,其特征是:所述的A步安装环箍锚索时,还在所述隧道结构(2)上设置锚索定位装置(8),该定位装置(8)由所述隧道结构(2)内表面的固定杆(8a),外表面的定位杆(8b)以及所述隧道结构(2)上、下表面的连接横杆(8c)组成,通过连接横杆(8c)将固定杆(8a)和定位杆(8b)连接并固定在所述隧道结构(2)上;定位杆(8b)的内表面设有与环箍锚索(5)的数量及形状匹配的锚索定位槽,每条环箍锚索(5)置于相应的锚索定位槽内。

3.根据权利要求1所述的一种水下盾构隧道结构的水压原型试验方法,其特征是:所述的B步垫设减摩层时,所述减摩层(7)从位于前环箍梁(3a)处的部分起至所述减摩层(7)的两端部止各分为摩擦系数递减的3-5段的具体作法为:两端部处的减摩段由一层聚四氟乙烯块构成,前环箍梁(3a)处的减摩层由两层聚四氟乙烯块构成,且在两层聚四氟乙烯之间涂有润滑剂,其余的减摩段由两层聚四氟乙烯块构成。