欢迎来到知嘟嘟! 联系电话:13336804447 卖家免费入驻,海量在线求购! 卖家免费入驻,海量在线求购!
知嘟嘟
我要发布
联系电话:13336804447
知嘟嘟经纪人
收藏
专利号: 2025104327951
申请人: 扬州铭升灯具灯饰有限公司
专利类型:发明专利
专利状态:已下证
专利领域: 照明
更新日期:2025-10-16
缴费截止日期: 暂无
价格&联系人
年费信息
委托购买

摘要:

权利要求书:

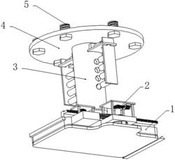
1.一种照明效果好的LED灯条型LED灯,包括连接盘(4),其特征在于:所述连接盘(4)内侧螺栓连接有固定螺栓(5),所述连接盘(4)底部设置有升降机构(3),所述升降机构(3)底部设置有LED灯本体(1),所述LED灯本体(1)顶部设置有转动清理机构(2),所述LED灯本体(1)顶部外围设置有除尘机构(6);

所述转动清理机构(2)包括转动组件(21)和清理组件(22),所述转动组件(21)设置于LED灯本体(1)顶部正面,所述清理组件(22)设置于LED灯本体(1)顶部;

所述转动组件(21)包看承重板(218),所述承重板(218)固定连接于LED灯本体(1)正面,所述承重板(218)顶部固定连接有连接架(211),所述连接架(211)内侧顶部转动连接有联动杆(215),所述联动杆(215)外围固定连接有蜗轮(212),所述蜗轮(212)正面啮合有蜗杆(213),所述蜗杆(213)右侧固定连接有第一电机(214),所述第一电机(214)固定连接于连接架(211)内侧顶部,所述联动杆(215)外围底部固定连接有第一链轮(219),所述联动杆(215)底部固定连接有菲涅尔透镜(216),所述菲涅尔透镜(216)顶部固定连接有支撑件(217)。

2.根据权利要求1所述的一种照明效果好的LED灯条型LED灯,其特征在于:所述承重板(218)内侧开设有与支撑件(217)运动轨迹相对应的圆形槽,且支撑件(217)滑动连接于该圆形槽内部。

3.根据权利要求2所述的一种照明效果好的LED灯条型LED灯,其特征在于:所述承重板(218)内侧开设有与联动杆(215)位置相对应的圆形孔,且联动杆(215)转动连接于该圆形孔内侧。

4.根据权利要求3所述的一种照明效果好的LED灯条型LED灯,其特征在于:所述清理组件(22)包括链条(221),所述链条(221)啮合于第一链轮(219)外侧,所述链条(221)内左侧啮合有第二链轮(228),所述第二链轮(228)内部固定连接有转动杆(227),所述转动杆(227)外围顶部固定连接有转动齿轮(226),所述转动杆(227)底部转动连接有矩形板(222),所述矩形板(222)固定连接于LED灯本体(1)正面左侧,所述转动杆(227)顶部转动连接有支撑架(225),所述支撑架(225)固定连接于矩形板(222)顶部,所述转动齿轮(226)背端啮合有齿条(224),所述齿条(224)底部固定连接有滑板(223),所述滑板(223)滑动连接于LED灯本体(1)内顶部,所述滑板(223)背端固定连接有联动板(229),所述联动板(229)内侧固定连接有清理板(2291)。

5.根据权利要求4所述的一种照明效果好的LED灯条型LED灯,其特征在于:所述LED灯本体(1)内顶部开设有与滑板(223)运动轨迹相对应的滑槽,且滑板(223)滑动连接于该滑槽内部。

6.根据权利要求5所述的一种照明效果好的LED灯条型LED灯,其特征在于:所述清理板(2291)设置于LED灯本体(1)底部,且清理板(2291)顶部与LED灯本体(1)底部相互贴合。

7.根据权利要求6所述的一种照明效果好的LED灯条型LED灯,其特征在于:所述除尘机构(6)包括L型架(68),所述L型架(68)固定连接于LED灯本体(1)顶部右侧,所述L型架(68)顶部固定连接有第二电机(67),所述第二电机(67)底部固定连接有转轴(66),所述转轴(66)底部固定连接有驱动齿轮(61),所述驱动齿轮(61)左侧啮合有旋转齿轮(65),所述旋转齿轮(65)底部固定连接有支撑盘(64),所述支撑盘(64)底部固定连接有转动盘(63),所述支撑盘(64)右侧固定连接有除尘板(62),所述除尘板(62)设置于LED灯本体(1)顶部,所述除尘板(62)底部与LED灯本体(1)顶部相互贴合。

8.根据权利要求7所述的一种照明效果好的LED灯条型LED灯,其特征在于:所述LED灯本体(1)顶部开设有与转动盘(63)运动轨迹相对应的转动槽,且转动盘(63)转动连接于该转动槽内部。

9.根据权利要求8所述的一种照明效果好的LED灯条型LED灯,其特征在于:所述升降机构(3)包括空心筒(38),所述空心筒(38)固定连接于连接盘(4)底部,所述空心筒(38)内部滑动连接有滑筒(31),所述滑筒(31)固定连接于LED灯本体(1)顶部中间,所述滑筒(31)内侧固定连接有连接杆(39),所述连接杆(39)外围滑动连接有移动板(34),所述连接杆(39)外围套接有弹簧(301),所述弹簧(301)固定连接于移动板(34)内侧,所述移动板(34)外侧固定连接有倾斜杆(33),所述倾斜杆(33)插接于空心筒(38)内侧,所述倾斜杆(33)外侧设置有插杆(32),所述插杆(32)外侧固定连接有滑动板(35),所述滑动板(35)内侧固定连接有电动伸缩杆(36),所述电动伸缩杆(36)底部固定连接有支撑板(37),所述支撑板(37)固定连接于空心筒(38)外侧。

10.根据权利要求9所述的一种照明效果好的LED灯条型LED灯,其特征在于:所述滑筒(31)内侧开设有与移动板(34)运动轨迹相对应的限位槽,且移动板(34)滑动连接于该限位槽内部。