欢迎来到知嘟嘟! 联系电话:13336804447 卖家免费入驻,海量在线求购! 卖家免费入驻,海量在线求购!
知嘟嘟
我要发布
联系电话:13336804447
知嘟嘟经纪人
收藏
专利号: 2025101360163
申请人: 昆山广瑞利机电工程有限公司
专利类型:发明专利
专利状态:已下证
专利领域: 液力机械或液力发动机;风力、弹力或重力发动机;其他类目中不包括的产生机械动力或反推力的发动机
更新日期:2026-02-06
缴费截止日期: 暂无
价格&联系人
年费信息
委托购买

摘要:

权利要求书:

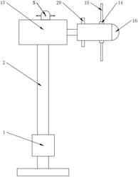
1.自适应变桨距风力发电机(17),其特征在于,包括:桨距调节装置、控制器(1)、桨叶保护装置、减震装置、支撑杆(2)、蓄电池;

所述支撑杆(2)竖向设置在地面上;所述桨距调节装置设置在所述支撑杆(2)的顶端,用于调节桨距;所述桨叶保护装置设置在所述桨距调节装置上,用于保护桨叶;所述减震装置设置在所述桨叶保护装置上,用于减震;所述控制器(1)设置在所述支撑杆(2)的底部,并与所述支撑杆(2)的外侧面固定连接,所述控制器(1)还与所述桨距调节装置、所述桨叶保护装置电性连接;所述蓄电池设置在所述控制器(1)内部,并与所述控制器(1)电性连接。

2.根据权利要求1所述的自适应变桨距风力发电机(17),其特征在于:所述桨距调节装置包括:若干扇叶调节机构、驱动电机(11)、第一锥齿轮(12)、外壳(16)、风力发电机(17)、风杯式风速传感器(5);

所述风力发电机(17)设置在所述支撑杆(2)的上方,其壳体与所述支撑杆(2)的顶端固定连接,所述风力发电机(17)的主轴轴线横向设置,所述风力发电机(17)与所述蓄电池电性连接;

所述风杯式风速传感器(5)设置在所述风力发电机(17)的上方,并与所述风力发电机(17)的顶面固定连接,所述风杯式风速传感器(5)与所述控制器(1)电性连接;

所述外壳(16)的形状为圆柱形,右端为弧形,其轴线与所述风力发电机(17)的轴线重合,所述外壳(16)与所述风力发电机(17)的主轴固定连接;

所述驱动电机(11)横向设置在所述外壳(16)内部,处于所述外壳(16)的内部右侧,其转动轴轴线与所述外壳(16)轴线重合,所述驱动电机(11)的壳体与所述外壳(16)的右侧内壁固定连接,并与所述控制器(1)电性连接;

若干所述扇叶调节机构围绕着所述外壳(16)的轴线旋转对称设置在所述外壳(16)上;

所述扇叶调节机构包括:叶片(10)、第一拱形架(14)、转动杆(15)、第二拱形架(18)、第二锥齿轮(13);

所述第一拱形架(14)设置在所述外壳(16)的外侧方,所述第一拱形架(14)的内拱面朝向所述外壳(16)的外侧方,其拱板分别与所述外壳(16)的外侧面转动连接,转动轴线垂直于所述外壳(16)的轴线,且转动轴线沿所述外壳(16)的径向设置;

所述第二拱形架(18)分别设置在所述第一拱形架(14)内部,其内拱面分别朝向所述第一拱形架(14)的拱板,所述第二拱形架(18)的两拱肋外侧面分别通过两个转轴与所述第一拱形架(14)的两拱肋内侧面转动连接,转动轴线垂直于所述外壳(16)的轴线,且垂直于对应第一拱形架(14)的转动轴线,两个所述转轴上还分别套设有复位扭簧,复位扭簧的两端分别与所述第二拱形架(18)的两拱肋外侧面以及所述第一拱形架(14)的两拱肋内侧面固定连接;

所述叶片(10)分别设置在第二拱形架(18)远离所述外壳(16)的侧方,所述叶片(10)的一端分别与所述第二拱形架(18)的拱板侧部固定连接;

所述转动杆(15)贯穿所述外壳(16)的侧部,其一端分别与所述第一拱形架(14)的拱板固定连接,另一端处于所述驱动电机(11)的转动轴侧方,所述转动杆(15)的轴线垂直于所述外壳(16)的轴线,并与所述第一拱形架(14)的转动轴线重合,所述转动杆(15)的外侧面分别与所述外壳(16)的侧部转动连接,转动轴线与自身轴线重合;

所述第一锥齿轮(12)套设在所述驱动电机(11)的转动轴上,并与所述驱动电机(11)的转动轴侧面固定连接;

所述第二锥齿轮(13)套设在所述转动杆(15)的另一端,处于所述外壳(16)内部,所述第二锥齿轮(13)与所述转动杆(15)的侧面固定连接,并与所述第一锥齿轮(12)互相啮合。

3.根据权利要求2所述的自适应变桨距风力发电机(17),其特征在于:所述桨叶保护装置包括:两个气缸(20)、推送板(21)、若干转向机构;

两个所述气缸(20)分别横向设置在所述外壳(16)内部,其轴线分别与所述外壳(16)的轴线平行,两个所述气缸(20)的壳体分别与所述外壳(16)的左侧内壁固定连接,且还分别与所述控制器(1)电性连接;

所述推送板(21)为圆形,且竖向设置在所述外壳(16)内部,并与所述外壳(16)的轴线垂直,处于所述气缸(20)与所述转动杆(15)之间,所述推送板(21)的左侧面分别与两个所述气缸(20)的伸缩轴固定连接;

若干所述转向机构围绕着所述外壳(16)的轴线旋转对称设置在所述外壳(16)上,且分别与若干所述扇叶调节机构一一对应;

所述转向机构包括:连接板(22)、齿条(23)、第一齿轮(24)、联动杆(25)、旋转杆(26)、第三锥齿轮(27)、第四锥齿轮(28)、连通口(44);

所述连接板(22)为长条状,横向设置在所述外壳(16)内部,平行于所述外壳(16)的轴线,并处于所述推送板(21)与所述转动杆(15)之间,其左端与所述推送板(21)的右侧面固定连接;

所述齿条(23)设置在所述外壳(16)内部,平行于所述外壳(16)的轴线,且与所述连接板(22)的右端固定连接;

所述连通口(44)为半圆型,且设置在所述第一拱形架(14)的拱板上,其圆心与所述转动轴的轴线重合;

所述联动杆(25)贯穿所述外壳(16)的侧部,并穿过所述连通口(44),处于所述转动杆(15)的左侧方,其轴线与所述转动杆(15)的轴线互相平行,所述联动杆(25)的侧面与所述外壳(16)的侧部转动连接,转动轴线与自身轴线重合;

所述第一齿轮(24)套设在所述联动杆(25)处于所述外壳(16)内部一端,并与所述联动杆(25)处于所述外壳(16)内部的侧面固定连接;

所述旋转杆(26)设置在所述第二拱形架(18)内部,所述旋转杆(26)的两端分别贯穿所述第二拱形架(18)的两拱肋,并分别与两个所述转轴固定连接,其轴线与两个所述转轴的轴线重合,所述旋转杆(26)的侧面还与所述第二拱形架(18)的两拱肋侧部固定连接;

所述第三锥齿轮(27)套设在所述联动杆(25)处于所述第一拱形架(14)内部的一端上,且与所述联动杆(25)处于所述第一拱形架(14)内部的侧面固定连接;

所述第四锥齿轮(28)套设在所述旋转杆(26)上,并与所述第三锥齿轮(27)互相啮合,所述第四锥齿轮(28)与所述旋转杆(26)固定连接。

4.根据权利要求3所述的自适应变桨距风力发电机(17),其特征在于:所述叶片(10)保护装置还包括:若干锁止装置;若干所述锁止装置分别围绕着所述外壳(16)的轴线旋转对称设置于所述外壳(16)上,且分别与若干所述扇叶调节机构一一对应;

所述锁止装置包括:拱形壳体(29)、挡板(34)、旋转扭簧、门轴(31)、转动口(32);

所述拱形壳体(29)设置在所述外壳(16)的外侧方,处于所述第一拱形架(14)的左侧,并与所述第一拱形架(14)处于同一条直线,所述拱形壳体(29)的内拱面朝向所述外壳(16)的外侧方,其拱板外侧面与所述外壳(16)的外侧面固定连接,所述拱形壳体(29)的两拱肋之间的间距大于所述叶片(10)的宽度;

所述门轴(31)横向设置在所述拱形壳体(29)处于前方的拱肋内部,其轴线平行于所述外壳(16)的轴线,所述门轴(31)的两端分别与所述拱形壳体(29)的内壁转动连接,转动轴线与自身轴线重合;

所述旋转扭簧套设在所述门轴(31)其中一端上,其轴线与所述门轴(31)的轴线重合,所述旋转扭簧的一端与所述拱形壳体(29)的内壁固定连接,另一端与所述门轴(31)固定连接;

所述转动口(32)设置在所述拱形壳体(29)处于前方的拱肋侧部,处于所述拱形壳体(29)两拱肋之间,并处于所述门轴(31)的侧方;

所述挡板(34)与所述外壳(16)的轴线平行,其正面穿过所述转动口(32),并与所述门轴(31)的侧面固定连接,所述挡板(34)的背面为圆弧面,并与所述拱形壳体(29)处于后方的拱肋内侧面相接触。

5.根据权利要求4所述的自适应变桨距风力发电机(17),其特征在于:所述拱形壳体(29)的拱板内侧面上设置有橡胶块。

6.根据权利要求4所述的自适应变桨距风力发电机(17),其特征在于:所述挡板(34)采用橡胶材质制成。

7.根据权利要求4所述的自适应变桨距风力发电机(17),其特征在于:所述减震装置包括:活塞桶(40)、活塞杆(41)、活塞块(42)、三个减震机构;

所述活塞桶(40)横向设置在所述外壳(16)内部,处于所述推送板(21)与所述转动杆(15)之间,其轴线与所述外壳(16)的轴线重合,且端口朝向所述推送板(21),所述活塞桶(40)的外侧面分别通过若干圆杆与所述外壳(16)的内壁固定连接;

所述活塞块(42)竖向设置在所述活塞桶(40)内部,垂直于所述外壳(16)的轴线,并与所述活塞桶(40)的内壁滑动密封连接;

所述活塞杆(41)横向设置在所述活塞块(42)与所述推送板(21)之间,并与所述外壳(16)的轴线重合,所述活塞杆(41)的左端与所述推送板(21)的右侧面固定连接,右端与所述活塞块(42)的左侧面固定连接;

三个所述减震机构分别围绕着所述外壳(16)的轴线旋转对称设置于所述外壳(16)上,且分别与若干所述扇叶调节机构一一对应;

所述减震机构包括:弧形板(43)、气囊(45)、连通口(44);

所述连通口(44)设置在所述外壳(16)的侧部,处于所述推送板(21)与所述第一拱形架(14)之间,且分别与所述第一拱形架(14)处于同一条直线上;

所述弧形板(43)设置在所述外壳(16)内部,处于所述连通口(44)的下方,所述弧形板(43)的侧面与所述外壳(16)的内壁固定连接,且内弧面朝向所述连通口(44);

所述气囊(45)设置在所述弧形板(43)与所述连通口(44)之间,且处于所述连通口(44)内部,所述气囊(45)的侧部设置有气管,气管的另一端贯穿所述活塞桶(40)、所述弧形板(43)的侧部,并与所述活塞桶(40)内部连通。

8.根据权利要求7所述的自适应变桨距风力发电机(17),其特征在于:所述活塞桶(40)的内部存有惰性气体。

9.根据权利要求7所述的自适应变桨距风力发电机(17),其特征在于:还包括若干磁性块(46)、若干磁条(47);

所述气囊(45)内部设置有若干所述磁性块(46),若干所述磁性块(46)与所述气囊(45)的内壁固定连接;所述外壳(16)的顶部设置有若干磁条(47),处于所述连通口(44)的侧方。

10.根据权利要求7所述的自适应变桨距风力发电机(17),其特征在于:所述气囊(45)的形状为蘑菇型,且采用橡胶材质制成。