欢迎来到知嘟嘟! 联系电话:13336804447 卖家免费入驻,海量在线求购! 卖家免费入驻,海量在线求购!
知嘟嘟
我要发布
联系电话:13336804447
知嘟嘟经纪人
收藏
专利号: 2024220599325
专利类型:实用新型
专利状态:未下证
专利领域: 暂无
更新日期:2025-07-09
缴费截止日期: 暂无
价格&联系人
年费信息
委托购买

摘要:

权利要求书:

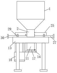
1.一种自动筛选的中药分配器,包括设置的分配斗(1),所述分配斗(1)下安装有第一管道(2);

其特征在于,还包括:

所述分配斗(1)内部通过抖动组件连接有过滤板(3),所述抖动组件包括开设在分配斗(1)内侧的置物槽(5),所述置物槽(5)内部安装有滑杆(4),所述滑杆(4)贯穿连接在过滤板(3)内部,所述滑杆(4)外侧套设有弹簧(6),所述分配斗(1)外侧安装有双轴电机(7),所述双轴电机(7)第一输出端连接有驱动件(8),所述驱动件(8)端部安装有转杆(9),所述转杆(9)贯穿连接在分配斗(1)内部,所述转杆(9)外侧套设有偏心轮(10),所述偏心轮(10)转动后与过滤板(3)表面相接触。

2.根据权利要求1所述的一种自动筛选的中药分配器,其特征在于:所述第一管道(2)下安装有移动组件,所述移动组件包括安装在第一管道(2)下的第二管道(11),所述第二管道(11)端部设置有滑块(12)。

3.根据权利要求2所述的一种自动筛选的中药分配器,其特征在于:所述滑块(12)连接在滑槽框(13)内部,所述滑槽框(13)底部设置有支撑板(14),所述滑块(12)侧端设置有挡板(15)。

4.根据权利要求3所述的一种自动筛选的中药分配器,其特征在于:所述第二管道(11)底部通过第一转轴(16)连接有盖板(17),所述滑槽框(13)下设置有存储架(18)。

5.根据权利要求1所述的一种自动筛选的中药分配器,其特征在于:所述双轴电机(7)第二输出端连接有驱动组件,所述驱动组件包括安装在双轴电机(7)第二输出端的转盘(19),所述转盘(19)上安装有第二转轴(20)。

6.根据权利要求5所述的一种自动筛选的中药分配器,其特征在于:所述第二转轴(20)连接在滑动槽(22)内部,所述滑动槽(22)开设在转动杆(21)上,所述转动杆(21)底端连接有半齿轮(23),所述转动杆(21)上通过转动轴(24)连接在置物座(25)上。

7.根据权利要求6所述的一种自动筛选的中药分配器,其特征在于:所述半齿轮(23)底部啮合连接有齿块(26),所述齿块(26)安装在滑动杆(27)上,所述滑动杆(27)下通过固定块(28)连接在滑块(12)侧端。

8.根据权利要求7所述的一种自动筛选的中药分配器,其特征在于:所述滑动杆(27)外侧套设有卡扣(29),所述卡扣(29)固定连接在置物座(25)表面,所述滑动杆(27)端部安装有挡块(30)。