欢迎来到知嘟嘟! 联系电话:13336804447 卖家免费入驻,海量在线求购! 卖家免费入驻,海量在线求购!
知嘟嘟
我要发布
联系电话:13336804447
知嘟嘟经纪人
收藏
专利号: 2024218060082
专利类型:实用新型
专利状态:未下证
专利领域: 暂无
更新日期:2025-07-09
缴费截止日期: 暂无
价格&联系人
年费信息
委托购买

摘要:

权利要求书:

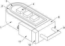
1.一种充电钥匙灯,包括底壳(1),其特征在于:所述底壳(1)一端外侧限位转动连接有翻盖(8),所述翻盖(8)一端固定连接设置有连接槽座(12),所述连接槽座(12)内插合设置有卡块(13),所述底壳(1)靠近连接槽座(12)的一端固定设置有安装座(11),所述安装座(11)内设置有连接杆(14),所述连接杆(14)一端与卡块(13)固定连接,所述连接杆(14)另一端活动穿设过安装座(11)侧壁后连接有调节钮(16),所述连接杆(14)外侧且位于安装座(11)与卡块(13)之间套设连接有弹簧(15)。

2.根据权利要求1所述的一种充电钥匙灯,其特征在于:所述调节钮(16)外侧设置有增加手部与调节钮(16)之间摩擦力的粗糙纹路。

3.根据权利要求1所述的一种充电钥匙灯,其特征在于:所述底壳(1)内设置有蓄电池(6),所述底壳(1)内设置有与蓄电池(6)电性连接的USB充电插头(7),所述底壳(1)内且位于蓄电池(6)、USB充电插头(7)上方设置有发光电路板(5),所述发光电路板(5)上设置有按键基座(4)。

4.根据权利要求1所述的一种充电钥匙灯,其特征在于:所述底壳(1)顶壁盖合设置有上盖(2),所述上盖(2)上设置有发光区(3)。

5.根据权利要求3所述的一种充电钥匙灯,其特征在于:所述按键基座(4)外侧套设连接有按键套。

6.根据权利要求1所述的一种充电钥匙灯,其特征在于:所述底壳(1)内且靠近翻盖(8)的一端设置有挡板(10)。

我要求购
我不想找了,帮我找吧
您有专利需要变现?
我要出售
智能匹配需求,快速出售