欢迎来到知嘟嘟! 联系电话:13336804447 卖家免费入驻,海量在线求购! 卖家免费入驻,海量在线求购!
知嘟嘟
我要发布
联系电话:13336804447
知嘟嘟经纪人
收藏
专利号: 2024217483145
专利类型:实用新型
专利状态:未下证
专利领域: 暂无
更新日期:2025-04-29
缴费截止日期: 暂无
价格&联系人
年费信息
委托购买

摘要:

权利要求书:

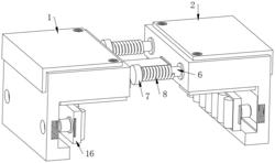
1.一种间隙可调直线导轨滑块,包括第一滑块(1),其特征在于:所述第一滑块(1)的一侧分布有第二滑块(2),所述第一滑块(1)的侧壁开设有活动槽(3),且所述活动槽(3)的一侧分布有插槽(4),所述插槽(4)的底部连通有定位孔(5),所述第二滑块(2)的靠近所述第一滑块(1)的一侧固定安装有拉伸杆(6),且所述拉伸杆(6)的另一端固定连接有限位滑块(7),所述拉伸杆(6)的外表面套设有第一弹簧(8),所述拉伸杆(6)的一侧分布有插板(9),且所述插板(9)的底部内侧固定连接有第二弹簧(10),所述第二弹簧(10)的另一端固定连接有定位杆(11),所述第二滑块(2)的顶端下表面设置有垫块(12),所述第二滑块(2)的底部内侧壁开设有适配结构。

2.根据权利要求1所述的一种间隙可调直线导轨滑块,其特征在于:所述适配结构包括凹槽(13)、通孔(14)和卡槽(15),所述凹槽(13)开设于所述第二滑块(2)的底部内侧壁,且所述凹槽(13)的一侧连通有通孔(14),所述第二滑块(2)的底部一端表面开设有卡槽(15)。

3.根据权利要求2所述的一种间隙可调直线导轨滑块,其特征在于:所述凹槽(13)的内侧设置有调节块(16),且所述调节块(16)的侧壁固定安装有挤压杆(17),所述调节块(16)远离所述挤压杆(17)的内侧设置有辅助辊(18),所述调节块(16)的一端固定安装有凸条(19)。

4.根据权利要求1所述的一种间隙可调直线导轨滑块,其特征在于:所述定位孔(5)等距分布于所述插槽(4)的底部,且所述插槽(4)与所述第一滑块(1)构成一体化结构。

5.根据权利要求1所述的一种间隙可调直线导轨滑块,其特征在于:所述定位杆(11)通过所述第二弹簧(10)与所述插板(9)构成滑动连接,且所述定位杆(11)外侧直径尺寸与所述定位孔(5)内侧直径尺寸相适配。

6.根据权利要求3所述的一种间隙可调直线导轨滑块,其特征在于:所述辅助辊(18)等距分布于所述调节块(16)的侧壁,且所述辅助辊(18)与所述调节块(16)构成转动连接。