欢迎来到知嘟嘟! 联系电话:13336804447 卖家免费入驻,海量在线求购! 卖家免费入驻,海量在线求购!
知嘟嘟
我要发布
联系电话:13336804447
知嘟嘟经纪人
收藏
专利号: 2024216157100
专利类型:实用新型
专利状态:未下证
专利领域: 暂无
更新日期:2025-03-31
缴费截止日期: 暂无
价格&联系人
年费信息
委托购买

摘要:

权利要求书:

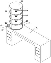
1.一种可调节的电气故障检测台,包括故障检测台主体(01),其特征在于:

所述故障检测台主体(01)的顶部设置有检测设备存放部件组(02),所述检测设备存放部件组(02)用于对电气设备进行放置收纳,所述检测设备存放部件组(02)包括调节钮一(21),所述调节钮一(21)的内部设置有竖轴杆(22),所述竖轴杆(22)的外部连接有齿轮一(23),所述齿轮一(23)的侧面啮合有齿轮二(24),所述齿轮二(24)的内部设置有底部存放盘(25),所述底部存放盘(25)的底部设置有推力轴承(26),所述齿轮二(24)的顶部设置有引导杆(27),所述引导杆(27)的一端设置有上盖板(28),所述上盖板(28)的底部设置有中螺纹杆(29);

所述检测设备存放部件组(02)的内部设置有调节存放盘部件组(03),所述调节存放盘部件组(03)用于进行分层收纳,所述调节存放盘部件组(03)包括移动存放盘(31),所述移动存放盘(31)的内部设置有调节钮二(32),所述调节钮二(32)的内部连接有竖筒(33),所述竖筒(33)的一端设置有托环架(34)。

2.根据权利要求1所述的一种可调节的电气故障检测台,其特征在于:所述调节钮一(21)的表面设置有防滑纹路,所述竖轴杆(22)的一端通过转轴连接故障检测台主体(01),所述齿轮一(23)通过通孔和竖轴杆(22)连接,所述调节钮一(21)通过通孔和竖轴杆(22)连接。

3.根据权利要求1所述的一种可调节的电气故障检测台,其特征在于:所述齿轮二(24)通过通孔和底部存放盘(25)连接,所述齿轮二(24)和底部存放盘(25)的圆心相同,所述推力轴承(26)的顶部连接底部存放盘(25),所述推力轴承(26)的底部连接故障检测台主体(01)。

4.根据权利要求1所述的一种可调节的电气故障检测台,其特征在于:所述引导杆(27)设置有三个,且三个引导杆(27)均匀分布在底部存放盘(25)上,所述引导杆(27)的一端连接底部存放盘(25),所述引导杆(27)的另一端连接上盖板(28)。

5.根据权利要求1所述的一种可调节的电气故障检测台,其特征在于:所述中螺纹杆(29)的一端固定连接上盖板(28),所述中螺纹杆(29)的另一端固定连接底部存放盘(25)。

6.根据权利要求1所述的一种可调节的电气故障检测台,其特征在于:所述调节存放盘部件组(03)设置有三组,且三组调节存放盘部件组(03)分布在检测设备存放部件组(02)内部,所述移动存放盘(31)通过滑槽和引导杆(27)滑动接触。

7.根据权利要求1所述的一种可调节的电气故障检测台,其特征在于:所述调节钮二(32)的表面设置有防滑纹路,所述竖筒(33)的一端和托环架(34)连接,所述竖筒(33)通过螺纹和中螺纹杆(29)连接,所述移动存放盘(31)通过通孔和竖筒(33)滑动接触,所述托环架(34)和移动存放盘(31)的底部接触,所述托环架(34)通过通孔和中螺纹杆(29)接触。