欢迎来到知嘟嘟! 联系电话:13336804447 卖家免费入驻,海量在线求购! 卖家免费入驻,海量在线求购!
知嘟嘟
我要发布
联系电话:13336804447
知嘟嘟经纪人
收藏
专利号: 2024214252134
专利类型:实用新型
专利状态:未下证
专利领域: 暂无
更新日期:2025-03-19
缴费截止日期: 暂无
价格&联系人
年费信息
委托购买

摘要:

权利要求书:

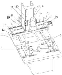
1.一种机械零部件加工用数控加工中心,包括工作台(1),其特征在于:所述工作台(1)的顶端一侧固定连接有夹持装置(3),所述工作台(1)的顶端固定连接有两个第一滑轨(11),两个所述第一滑轨(11)的顶端均滑动套接有第一滑块(12),两个所述第一滑块(12)的顶端固定连接有移动板(13),所述移动板(13)的顶端固定连接有两个第二滑轨(14),两个所述第二滑轨(14)的顶端均滑动套接有第二滑块(18),所述移动板(13)的顶端一侧固定连接有固定件(16),所述移动板(13)的一端固定连接有侧板(15),所述侧板(15)的一端转动连接有螺纹杆(17),所述螺纹杆(17)的外表面螺纹套接有套板(19),所述螺纹杆(17)的一端与固定件(16)的一端转动连接,所述侧板(15)的一端固定设有第一电机(10),所述第一电机(10)的输出端贯穿侧板(15)并与螺纹杆(17)固定连接,所述套板(19)的顶端固定连接有支撑板(20),两个所述第二滑块(18)的顶端共同固定与支撑板(20)的底端固定连接,所述支撑板(20)的一端固定连接有两个电动滑轨(21),两个所述电动滑轨(21)的外表面共同套接有电动滑块(22),所述电动滑块(22)的一端固定连接有加工头(23),所述工作台(1)的一端固定设有气缸(25),所述移动板(13)的底端固定连接有固定块(24),所述气缸(25)的输出端与固定块(24)固定连接。

2.如权利要求1所述的一种机械零部件加工用数控加工中心,其特征在于,所述夹持装置(3)包括底板(31),所述底板(31)的底端与工作台(1)的顶端固定连接,所述底板(31)的顶端中部转动连接有转轴(32),所述转轴(32)的顶端固定连接有轴板(33),所述轴板(33)的底端两侧均转动连接有连板(34),所述底板(31)的底端固定连接有四个第三滑轨(35),四个所述第三滑轨(35)的外表面均套接有第三滑块(36),同一水平侧的两个所述第三滑块(36)的顶端共同固定连接有座板(37),两个所述连板(34)的一端分别与两个座板(37)的底端一侧转动连接,两个所述座板(37)的一端均固定连接有两个转动件(38),四个所述转动件(38)的外表面均转动连接有滚轮(39),所述工作台(1)的内部固定安装有第二电机(40),所述第二电机(40)的输出端与转轴(32)的底端固定连接。

3.如权利要求1所述的一种机械零部件加工用数控加工中心,其特征在于,所述移动板(13)的宽度与底板(31)的宽度一致,且移动板(13)的高度高于底板(31)。

4.如权利要求1所述的一种机械零部件加工用数控加工中心,其特征在于,两个所述第一滑轨(11)和第一滑块(12)均呈镜像分布。

5.如权利要求1所述的一种机械零部件加工用数控加工中心,其特征在于,所述工作台(1)的顶端一侧开设有矩形槽。

6.如权利要求1所述的一种机械零部件加工用数控加工中心,其特征在于,所述支撑板(20)呈“U”形。

7.如权利要求2所述的一种机械零部件加工用数控加工中心,其特征在于,四个所述第三滑轨(35)呈矩形阵列分布。

8.如权利要求2所述的一种机械零部件加工用数控加工中心,其特征在于,所述转轴(32)位于底板(31)的中心处,且两个连板(34)呈环形阵列分布。