欢迎来到知嘟嘟! 联系电话:13336804447 卖家免费入驻,海量在线求购! 卖家免费入驻,海量在线求购!
知嘟嘟
我要发布
联系电话:13336804447
知嘟嘟经纪人
收藏
专利号: 2024212484527
专利类型:实用新型
专利状态:未下证
专利领域: 暂无
更新日期:2025-02-26
缴费截止日期: 暂无
价格&联系人
年费信息
委托购买

摘要:

权利要求书:

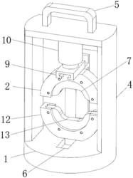
1.一种电子连接线加工用接线装置,包括;底座(1)、上侧安装件(2)和电动伸缩杆(3),其特征在于:所述底座(1)的上端固定安装有支撑架(4),所述支撑架(4)的上端固定安装有提手(5),所述底座(1)的内端开设有移动槽(6),所述移动槽(6)的内端卡合安装有下侧安装件(12);

所述上侧安装件(2)的内端固定安装有上侧压件(7),所述上侧压件(7)的上端固定安装有T型滑件(8),所述T型滑件(8)的外端卡合安装有滑槽(9),所述滑槽(9)的上端固定安装有气缸(10);

所述电动伸缩杆(3)的前端固定安装有直板(15),所述直板(15)的前端固定安装有连接杆(16),所述连接杆(16)的前端固定安装有上侧安装件(2)。

2.根据权利要求1所述的一种电子连接线加工用接线装置,其特征在于:所述连接杆(16)的前端固定安装有下侧安装件(12),所述下侧安装件(12)设置在上侧安装件(2)的下侧。

3.根据权利要求1所述的一种电子连接线加工用接线装置,其特征在于:所述气缸(10)的上端与支撑架(4)固定安装。

4.根据权利要求1所述的一种电子连接线加工用接线装置,其特征在于:所述底座(1)的后端固定安装有安装板(14),所述电动伸缩杆(3)固定安装在安装板(14)的后端。

5.根据权利要求1所述的一种电子连接线加工用接线装置,其特征在于:所述下侧安装件(12)的下端可在移动槽(6)的内端前后滑动,所述下侧安装件(12)的内端固定安装有下侧压件(13)。

6.根据权利要求1所述的一种电子连接线加工用接线装置,其特征在于:所述底座(1)的下端固定安装有防滑垫(11)。