欢迎来到知嘟嘟! 联系电话:13336804447 卖家免费入驻,海量在线求购! 卖家免费入驻,海量在线求购!
知嘟嘟
我要发布
联系电话:13336804447
知嘟嘟经纪人
收藏
专利号: 2024211198903
申请人: 武汉至简天成科技有限公司
专利类型:实用新型
专利状态:已下证
专利领域: 基本上无切削的金属机械加工;金属冲压
更新日期:2025-07-02
缴费截止日期: 暂无
价格&联系人
年费信息
委托购买

摘要:

权利要求书:

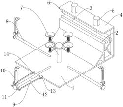
1.一种金属标识牌用板材冲压弯折固定装置,其特征在于,包括

底板(1),所述底板(1)的一侧外壁设置有顶板(2),所述顶板(2)的内部设置有弯折结构,所述底板(1)的中间设置有多角度转向结构(7),所述底板(1)的两端设置有滑杆(8),所述底板(1)的另一侧设置有传动丝杆(9),所述传动丝杆(9)和滑杆(8)的外壁设置有连接结构(10);

多角度转向结构(7),其包括伺服电机(701),所述伺服电机(701)设置于底板(1)中间的底部,所述伺服电机(701)的输出端设置有旋转轴(702),所述旋转轴(702)的顶部设置有球形的贴合块(703),所述贴合块(703)的外壁滑动连接有转动环(704),所述转动环(704)的外壁设置有复位弹簧(705),所述复位弹簧(705)的顶部设置有吸盘(706),所述吸盘(706)与金属标识牌的底部贴合。

2.根据权利要求1所述的一种金属标识牌用板材冲压弯折固定装置,其特征在于:所述弯折结构,其包括下弯折模具(3),所述下弯折模具(3)设置于顶板(2)的顶部,所述顶板(2)的外壁设置有安装板(4),所述安装板(4)的设置于顶板(2)的正上方。

3.根据权利要求2所述的一种金属标识牌用板材冲压弯折固定装置,其特征在于:所述安装板(4)的顶部设置有液压推动杆(5),所述液压推动杆(5)的输出端设置有上弯折模具(6),所述上弯折模具(6)设置于下弯折模具(3)的正上方。

4.根据权利要求1所述的一种金属标识牌用板材冲压弯折固定装置,其特征在于:所述连接结构(10),其包括固定块(1001),所述固定块(1001)的中间开设有配合孔(1002),所述配合孔(1002)与滑杆(8)滑动连接,所述配合孔(1002)与传动丝杆(9)相互配合,所述固定块(1001)的顶部转动连接有转动轴(1003)。

5.根据权利要求4所述的一种金属标识牌用板材冲压弯折固定装置,其特征在于:所述转动轴(1003)的顶部设置有支架(1004),所述支架(1004)的内壁滑动连接有伸缩杆(1005),所述伸缩杆(1005)的顶部转动连接有贴合板(1006)。

6.根据权利要求4所述的一种金属标识牌用板材冲压弯折固定装置,其特征在于:所述固定块(1001)的两侧设置有安装块(11),所述安装块(11)的内部转动连接有推杆(12),所述推杆(12)的一端转动连接有移动块(13),所述移动块(13)的一端开设有滑槽(14),所述滑槽(14)与底板(1)滑动连接。

我要求购
我不想找了,帮我找吧
您有专利需要变现?
我要出售
智能匹配需求,快速出售