欢迎来到知嘟嘟! 联系电话:13336804447 卖家免费入驻,海量在线求购! 卖家免费入驻,海量在线求购!
知嘟嘟
我要发布
联系电话:13336804447
知嘟嘟经纪人
收藏
专利号: 2024209588253
申请人: 中知新高(北京)科技服务有限公司
专利类型:实用新型
专利状态:已下证
专利领域: 水利工程;基础;疏浚
更新日期:2025-06-09
缴费截止日期: 暂无
价格&联系人
年费信息
委托购买

摘要:

权利要求书:

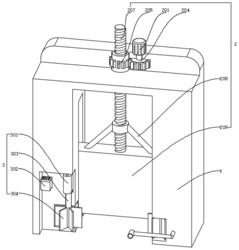
1.一种河道水流量控制设备,包括水闸主体(1)和调控机构(2),其特征在于:所述水闸主体(1)的表面一侧设置有调控机构(2),所述水闸主体(1)的内部设置有水电机构(3);

所述调控机构(2)包括伺服电机(201)、限位槽(202)、流速测量仪(203)、第一齿轮(204)、第二齿轮(205)、螺纹孔(206)、螺杆(207)、连接杆(208)和闸门(209),所述水闸主体(1)的表面一侧安装有伺服电机(201),所述水闸主体(1)的表面一侧开设有限位槽(202),所述水闸主体(1)的表面一侧安装有流速测量仪(203),所述伺服电机(201)的表面一侧连接有第一齿轮(204),所述第一齿轮(204)的表面一侧啮合有第二齿轮(205),所述第二齿轮(205)的表面一侧开设有螺纹孔(206),所述螺纹孔(206)的内部贯穿有螺杆(207),所述螺杆(207)的表面一侧固定连接有连接杆(208),所述螺杆(207)的一端固定连接有闸门(209)。

2.根据权利要求1所述的一种河道水流量控制设备,其特征在于:所述流速测量仪(203)与伺服电机(201)电性连接,所述螺杆(207)贯穿水闸主体(1)。

3.根据权利要求1所述的一种河道水流量控制设备,其特征在于:所述螺杆(207)通过螺纹孔(206)与第二齿轮(205)螺纹连接,所述连接杆(208)的另一端与闸门(209)固定连接。

4.根据权利要求1所述的一种河道水流量控制设备,其特征在于:所述限位槽(202)设置有两组,所述闸门(209)与限位槽(202)相嵌合。

5.根据权利要求1所述的一种河道水流量控制设备,其特征在于:所述水电机构(3)包括发电机(301)、蓄电池(302)、旋转轴(303)和叶轮(304),所述水闸主体(1)的内部设置有发电机(301),所述水闸主体(1)的内部设置有蓄电池(302),所述发电机(301)的表面一侧连接有旋转轴(303),所述旋转轴(303)的表面一侧连接有叶轮(304)。

6.根据权利要求5所述的一种河道水流量控制设备,其特征在于:所述发电机(301)与蓄电池(302)电性连接,所述蓄电池(302)与伺服电机(201)电性连接。