欢迎来到知嘟嘟! 联系电话:13336804447 卖家免费入驻,海量在线求购! 卖家免费入驻,海量在线求购!
知嘟嘟
我要发布
联系电话:13336804447
知嘟嘟经纪人
收藏
专利号: 2024209398371
专利类型:实用新型
专利状态:未下证
专利领域: 暂无
更新日期:2025-01-09
缴费截止日期: 暂无
价格&联系人
年费信息
委托购买

摘要:

权利要求书:

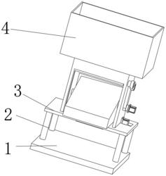
1.一种畜牧用草料均匀投放装置,包括底板(1),所述底板(1)的表面上固定安装有支撑腿(2),其特征在于:所述支撑腿(2)的表面上固定安装有支撑板(3),所述支撑板(3)的表面上固定安装有器件本体(4),所述器件本体(4)内设置有震动机构(5),所述震动机构(5)包括:斜板(51),所述器件本体(4)内设置有斜板(51),所述斜板(51)的下表面固定安装有圆块(52),所述圆块(52)内套设有大弹簧(53),所述大弹簧(53)的外表面套设有支撑柱(54);

长柱(55),所述斜板(51)内固定安装有长柱(55),所述斜板(51)的下表面固定安装有凸柱(56),所述凸柱(56)内固定安装有连接柱(57),所述连接柱(57)的外表面套设有小弹簧(58),所述小弹簧(58)的外表面套设有活动块(59);

活动杆(511),所述活动块(59)的下表面活动连接有活动杆(511),所述活动杆(511)的一端活动连接有小杆(512),所述小杆(512)远离活动杆(511)的一端活动连接有连接杆(513),所述连接杆(513)远离小杆(512)的一端固定连接有小电机(514)。

2.根据权利要求1所述的一种畜牧用草料均匀投放装置,其特征在于:所述器件本体(4)内设置有分料机构(6)。

3.根据权利要求2所述的一种畜牧用草料均匀投放装置,其特征在于:所述器件本体(4)的侧表面设置有摆动电机(61)。

4.根据权利要求3所述的一种畜牧用草料均匀投放装置,其特征在于:所述摆动电机(61)的输出端固定连接有长杆(62)。

5.根据权利要求4所述的一种畜牧用草料均匀投放装置,其特征在于:所述长杆(62)远离摆动电机(61)的一端活动连接有短杆(63),所述短杆(63)远离长杆(62)的一端固定连接有摆块(64)。

6.根据权利要求1所述的一种畜牧用草料均匀投放装置,其特征在于:所述长柱(55)与器件本体(4)的内表面活动连接,所述圆块(52)的数量为多组,镜像分布在所述斜板(51)的下表面。

7.根据权利要求1所述的一种畜牧用草料均匀投放装置,其特征在于:所述大弹簧(53)的数量为多组,镜像分布在所述圆块(52)内,所述支撑柱(54)的数量为多组,镜像分布在所述支撑板(3)的表面上。