欢迎来到知嘟嘟! 联系电话:13336804447 卖家免费入驻,海量在线求购! 卖家免费入驻,海量在线求购!
知嘟嘟
我要发布
联系电话:13336804447
知嘟嘟经纪人
收藏
专利号: 2024208780744
申请人: 永济恒善机械设备有限公司
专利类型:实用新型
专利状态:已下证
专利领域: 农业;林业;畜牧业;狩猎;诱捕;捕鱼
更新日期:2025-02-25
缴费截止日期: 暂无
价格&联系人
年费信息
委托购买

摘要:

权利要求书:

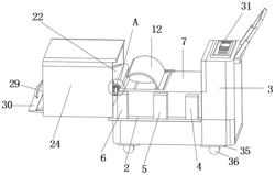
1.一种韭菜收割捆扎器,包括第一工作盒(1),其特征在于:所述第一工作盒(1)顶部一侧固定连接有第一支撑板(2),所述第一工作盒(1)右侧固定连接有储存盒(3),所述第一支撑板(2)顶部固定连接有第一电机(4)、第二电机(5)和第三电机(6),所述第一工作盒(1)顶部固定连接有第二工作盒(7),所述第二工作盒(7)的一侧固定连接有放线盒(8),所述放线盒(8)的一侧固定连接有微型电机(9),所述放线盒(8)的另一侧固定连接有固定套筒(10),所述固定套筒(10)的内部转动连接有第一转轴(11),所述第一转轴(11)的一侧固定连接有夹箍(12),所述夹箍(12)的一端固定连接有热熔胶刀头(13),下端所述夹箍(12)内部设置有放线口(15),所述放线口(15)贯穿于夹箍(12)的内部,所述放线口(15)底部固定连接有放线管道(14),所述第一工作盒(1)内部的下端固定连接有第四固定板(37),所述第四固定板(37)的一侧固定连接有第五转轴(38),所述第五转轴(38)的外侧转动连接有第二齿轮(39),所述第二齿轮(39)的外侧转动连接有履带(22),所述第一工作盒(1)外部的一侧固定连接有第二转轴(16),所述第二转轴(16)的一侧转动连接有第二支撑板(17),所述第二支撑板(17)顶部固定连接有第一固定座(18),所述第一固定座(18)顶部固定连接有第一固定板(19),所述第一固定板(19)的一侧固定连接有第三转轴(20),所述第三转轴(20)的外侧转动连接有第一齿轮(21),所述第一齿轮(21)的外侧转动连接有履带(22),所述履带(22)顶部固定连接有软胶固定座(23),所述第一工作盒(1)顶部一端固定连接有第二固定板(24),所述第二固定板(24)对称设置有两个,所述第二固定板(24)顶部固定连接有第三固定板(25),所述第二支撑板(17)顶部一端固定连接有固定块(26),所述固定块(26)顶部固定连接有第四转轴(27),所述第四转轴(27)顶部转动连接有固定杆(28),所述固定杆(28)顶部固定连接有弧形卡箍(29),所述固定杆(28)与弧形卡箍(29)连接处设置有转动座,所述固定块(26)底部固定连接有刀头(30)。

2.根据权利要求1所述的一种韭菜收割捆扎器,其特征在于:所述夹箍(12)、第一固定座(18)和履带(22)均对称设置有两个。

3.根据权利要求1所述的一种韭菜收割捆扎器,其特征在于:所述放线管道(14)的一端转动连接于放线盒(8)的下端,所述放线盒(8)与放线管道(14)之间设置有转轴。

4.根据权利要求1所述的一种韭菜收割捆扎器,其特征在于:所述第四固定板(37)对称设置有四个。

5.根据权利要求1所述的一种韭菜收割捆扎器,其特征在于:所述第一支撑板(2)顶部固定连接有控制器(31)。

6.根据权利要求1所述的一种韭菜收割捆扎器,其特征在于:所述第一支撑板(2)外部一侧的上端固定连接有第二固定座(32),所述第二固定座(32)顶部固定连接有电动伸缩杆(33),所述电动伸缩杆(33)对称设置有两个,所述电动伸缩杆(33)顶部固定连接有把手(34)。

7.根据权利要求1所述的一种韭菜收割捆扎器,其特征在于:所述软胶固定座(23)设置有若干个。

8.根据权利要求1所述的一种韭菜收割捆扎器,其特征在于:所述第一工作盒(1)底部固定连接有第三固定座(35),所述第三固定座(35)对称设置有四个,所述第三固定座(35)底部固定连接有轮子(36)。