欢迎来到知嘟嘟! 联系电话:13336804447 卖家免费入驻,海量在线求购! 卖家免费入驻,海量在线求购!
知嘟嘟
我要发布
联系电话:13336804447
知嘟嘟经纪人
收藏
专利号: 2024208499021
申请人: 襄阳禾扬建筑安装有限公司
专利类型:实用新型
专利状态:已下证
专利领域: 加工水泥、黏土或石料
更新日期:2025-04-10
缴费截止日期: 暂无
价格&联系人
年费信息
委托购买

摘要:

权利要求书:

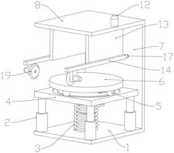
1.一种石材原料切割装置,包括底板(1),其特征在于:所述底板(1)上部前后端两侧固定连接有液压缸(2),所述底板(1)上部中间设置有缓冲机构(3),所述液压缸(2)上端固定连接有支撑板(4),所述支撑板(4)上部中间设置有旋转机构(5),所述旋转机构(5)上部设置有安装板(6),所述底板(1)后端固定连接有竖板(7),所述竖板(7)上端固定连接有顶板(8),所述顶板(8)下部中间开设有T型的滑动槽(9),所述滑动槽(9)内部两侧卡接有T型的滑块(10),所述滑动槽(9)内部两壁之间转动连接有丝杆一(11),所述丝杆一(11)贯穿滑块(10),所述顶板(8)上部一侧设置有传动机构(12),所述滑块(10)下端固定连接有固定板(13),所述固定板(13)相向一侧下端设置有固定杆(14),所述固定杆(14)下端开设有限位槽(15),所述限位槽(15)内部前后端转动连接有丝杆二(16),所述固定杆(14)后端固定连接有电机三(17),所述电机三(17)前端与丝杆二(16)后端固定连接,所述限位槽(15)内部前端卡接有限位块(18),所述限位块(18)下端设置有切割机构(19)。

2.根据权利要求1所述的一种石材原料切割装置,其特征在于:所述缓冲机构(3)包括固定连接于底板(1)上部中间的伸缩杆一(3.1),所述伸缩杆一(3.1)内部插接有伸缩杆二(3.2),所述伸缩杆二(3.2)上端与支撑板(4)下端固定连接,所述伸缩杆一(3.1)与伸缩杆二(3.2)外部套接有弹簧(3.3)。

3.根据权利要求1所述的一种石材原料切割装置,其特征在于:所述旋转机构(5)包括转动连接于支撑板(4)上端的支撑柱(5.1),所述支撑柱(5.1)上端与安装板(6)固定连接,所述支撑柱(5.1)外部中间套接有齿轮一(5.2),所述齿轮一(5.2)一侧啮合有齿轮二(5.3),所述齿轮二(5.3)下部中间固定连接有连接杆(5.4),所述连接杆(5.4)下端贯穿支撑板(4)且固定连接有电机一(5.5),所述电机一(5.5)上端与支撑板(4)下端固定连接,所述支撑板(4)与安装板(6)下部开设有环形的卡槽(5.6),所述卡槽(5.6)之间卡接有若干均匀环布的滚动球(5.7)。

4.根据权利要求1所述的一种石材原料切割装置,其特征在于:所述传动机构(12)包括固定连接于顶板(8)上部一侧的电机二(12.1),所述顶板(8)一侧内部对应电机二(12.1)处开设有放置仓(12.2),所述电机二(12.1)下端延伸至防放置仓(12.2)内部且固定连接有齿轮三(12.3),所述齿轮三(12.3)一侧啮合有齿轮四(12.4),所述齿轮四(12.4)一侧与丝杆一(11)一端固定连接。

5.根据权利要求1所述的一种石材原料切割装置,其特征在于:所述切割机构(19)包括固定连接于限位块(18)下端的连接板(19.1),所述连接板(19.1)远离固定板(13)一侧设置有电机四(19.2),所述连接板(19.1)下部中间插接有转杆(19.3),所述转杆(19.3)一端与电机四(19.2)固定连接,所述转杆(19.3)另一端设置有刀具(19.4)。