欢迎来到知嘟嘟! 联系电话:13095918853 卖家免费入驻,海量在线求购! 卖家免费入驻,海量在线求购!
知嘟嘟
我要发布
联系电话:13095918853
知嘟嘟经纪人
收藏
专利号: 2024207570043
专利类型:实用新型
专利状态:未下证
专利领域: 暂无
更新日期:2025-03-05
缴费截止日期: 暂无
价格&联系人
年费信息
委托购买

摘要:

权利要求书:

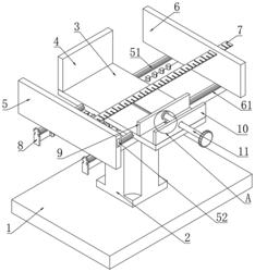
1.一种用于马达检测的轴距测量装置,包括底座(1),其特征在于,所述底座(1)上固定连接有电机(2),所述电机(2)与底座(1)之间垂直设置,所述电机(2)上设置有用于对马达轴距进行测量的测量组件,所述测量组件包括承载板(3),所述承载板(3)上固定连接有抵触板(4),所述承载板(3)的两侧分别滑动设置有左侧板(5)和右侧板(6),所述左侧板(5)和右侧板(6)之间插设有钢尺(7),所述左侧板(5)中开设有用于容纳钢尺(7)的容纳槽(52)。

2.根据权利要求1所述的一种用于马达检测的轴距测量装置,其特征在于,所述承载板(3)上对称开设有滑槽(32),所述滑槽(32)中分别滑动连接有第一滑条(51)和第二滑条(61),所述第一滑条(51)固定连接在左侧板(5)的底部,所述第二滑条(61)固定连接在右侧板(6)的底部,所述左侧板(5)与第二滑条(61)之间滑动接触,所述右侧板(6)与第一滑条(51)之间滑动接触,所述第一滑条(51)和第二滑条(61)的两端均固定连接有挡块(8),所述第一滑条(51)和第二滑条(61)上均固定连接有齿条。

3.根据权利要求2所述的一种用于马达检测的轴距测量装置,其特征在于,所述电机(2)的输出轴通过转轴与承载板(3)的底部转动连接,所述电机(2)的输出轴上固定连接有齿轮(12),所述齿轮(12)与第一滑条(51)和第二滑条(61)之间均为外啮合设置。

4.根据权利要求1所述的一种用于马达检测的轴距测量装置,其特征在于,所述承载板(3)的上表面远离抵触板(4)的一端固定连接有固定板(10),所述固定板(10)中螺纹连接有螺纹杆(11),所述螺纹杆(11)位于承载板(3)内部的一端通过轴承(13)转动连接有移动板(9),所述移动板(9)的下表面与承载板(3)的上表面滑动接触。

5.根据权利要求4所述的一种用于马达检测的轴距测量装置,其特征在于,所述承载板(3)上开设有限位槽(31),所述限位槽(31)中滑动连接有限位块(91),所述移动板(9)通过其底部固定连接的限位块(91)与限位槽(31)之间滑动连接。

6.根据权利要求5所述的一种用于马达检测的轴距测量装置,其特征在于,所述左侧板(5)上固定连接有放置板(14),所述放置板(14)的两侧固定连接有挡板(141),所述右侧板(6)上开设有插孔(62),所述插孔(62)的内底面与放置板(14)的上表面相持平。