欢迎来到知嘟嘟! 联系电话:13336804447 卖家免费入驻,海量在线求购! 卖家免费入驻,海量在线求购!
知嘟嘟
我要发布
联系电话:13336804447
知嘟嘟经纪人
收藏
专利号: 2024206933571
专利类型:实用新型
专利状态:未下证
专利领域: 暂无
更新日期:2025-04-14
缴费截止日期: 暂无
价格&联系人
年费信息
委托购买

摘要:

权利要求书:

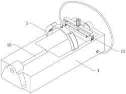
1.一种线缆绝缘层冷却装置,包括:支撑底座(1),其特征在于:所述支撑底座(1)的上端设置有循环水冷却机构,所述支撑底座(1)顶端的一侧设置有按压式导向机构;

所述循环水冷却机构包括开设在支撑底座(1)顶端一侧的水槽(2),所述支撑底座(1)顶端位于水槽(2)的上端固定设有弧形管(3),所述弧形管(3)底部的两侧均等距离固定设有多个喷头(4),所述弧形管(3)内壁的一端等距离开设有多个通槽(5),且每个通槽(5)两端的内壁分别与两个喷头(4)的内壁连通,所述支撑底座(1)一侧的下端穿插设有导管(6),且导管(6)的一端与弧形管(3)的内壁穿插连接,所述弧形管(3)外壁的两端均开设有安装槽(7),两个所述安装槽(7)的内壁均固定设有冷凝管(8)。

2.根据权利要求1所述的一种线缆绝缘层冷却装置,其特征在于:两个所述安装槽(7)内壁一侧的边缘处均铰接设有防护盖(9),所述防护盖(9)外壁一侧的边缘处均固定设有固定条。

3.根据权利要求1所述的一种线缆绝缘层冷却装置,其特征在于:所述支撑底座(1)顶端的两侧均开设有弧形凹槽(10),且两个弧形凹槽(10)一端的内壁分别与水槽(2)内壁的两端连通。

4.根据权利要求1所述的一种线缆绝缘层冷却装置,其特征在于:所述按压式导向机构包括固定在支撑底座(1)顶端一侧的支撑架(11),所述支撑架(11)的两端均开设有限位滑槽(12),两个所述限位滑槽(12)的内壁之间穿插设有连接架(13)。

5.根据权利要求4所述的一种线缆绝缘层冷却装置,其特征在于:所述连接架(13)的底部转动设有牵引辊(14),所述支撑架(11)顶端的中间位置固定设有气缸(15),所述支撑架(11)底部的中间位置穿插设有连接轴(16)。

6.根据权利要求5所述的一种线缆绝缘层冷却装置,其特征在于:所述连接轴(16)一端的外壁穿过支撑架(11)的内壁与气缸(15)的输出端穿插连接,所述连接轴(16)的一端与连接架(13)的顶端固定连接。

7.根据权利要求4所述的一种线缆绝缘层冷却装置,其特征在于:两个所述限位滑槽(12)内壁的底部均固定设有弹簧(17),且两个弹簧(17)的一端分别与连接架(13)底部的两侧固定连接。