欢迎来到知嘟嘟! 联系电话:13336804447 卖家免费入驻,海量在线求购! 卖家免费入驻,海量在线求购!
知嘟嘟
我要发布
联系电话:13336804447
知嘟嘟经纪人
收藏
专利号: 2024206925414
专利类型:实用新型
专利状态:未下证
专利领域: 暂无
更新日期:2025-02-21
缴费截止日期: 暂无
价格&联系人
年费信息
委托购买

摘要:

权利要求书:

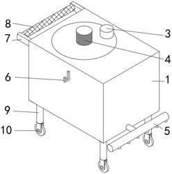
1.一种园林绿化工程用施肥器,包括金属外壳(1),其特征在于:所述金属外壳(1)的内部设置有搅拌罐(2),所述金属外壳(1)内部的底部设置有喷洒组件(5),所述搅拌罐(2)内部顶部的后侧设置有进料口(3),所述搅拌罐(2)的内部设置有搅拌机构(4),所述搅拌机构(4)包括顺时针旋转组件(401)和逆时针旋转组件(402),所述顺时针旋转组件(401)设置在搅拌罐(2)内部的顶部,所述逆时针旋转组件(402)设置在搅拌罐(2)内部的底部;

所述顺时针旋转组件(401)包括第一电机(4011)、转动杆(4012)和搅拌叶(4013),所述第一电机(4011)栓接在搅拌罐(2)内部的顶部,所述转动杆(4012)固定连接在第一电机(4011)的底部,所述搅拌叶(4013)焊接在转动杆(4012)外侧的底部。

2.根据权利要求1所述的一种园林绿化工程用施肥器,其特征在于:所述逆时针旋转组件(402)包括第二电机(4021)、转动连接盘(4022)和搅拌杆(4023),所述第二电机(4021)栓接在搅拌罐(2)内部的底部,所述转动连接盘(4022)转动连接在搅拌罐(2)内部的底部,所述转动连接盘(4022)的底部与第二电机(4021)固定连接,所述搅拌杆(4023)焊接在转动连接盘(4022)顶部的四角。

3.根据权利要求1所述的一种园林绿化工程用施肥器,其特征在于:所述喷洒组件(5)包括抽水泵(501)、喷洒主管(502)和喷头(503),所述抽水泵(501)螺纹连接在搅拌罐(2)右侧的底部,所述喷洒主管(502)的左侧与抽水泵(501)螺纹连接,所述喷头(503)焊接在喷洒主管(502)的底部。

4.根据权利要求1所述的一种园林绿化工程用施肥器,其特征在于:所述金属外壳(1)的前侧与后侧均焊接有挂钩(6)。

5.根据权利要求1所述的一种园林绿化工程用施肥器,其特征在于:所述金属外壳(1)的左侧焊接有车把(7)。

6.根据权利要求5所述的一种园林绿化工程用施肥器,其特征在于:所述车把(7)的外侧套接有保护套(8),所述保护套(8)的外侧开设有防滑纹路。

7.根据权利要求1所述的一种园林绿化工程用施肥器,其特征在于:所述金属外壳(1)底部的四角焊接有金属支撑柱(9)。

8.根据权利要求7所述的一种园林绿化工程用施肥器,其特征在于:所述金属支撑柱(9)的底部栓接有电动轮(10)。

我要求购
我不想找了,帮我找吧
您有专利需要变现?
我要出售
智能匹配需求,快速出售