欢迎来到知嘟嘟! 联系电话:13336804447 卖家免费入驻,海量在线求购! 卖家免费入驻,海量在线求购!
知嘟嘟
我要发布
联系电话:13336804447
知嘟嘟经纪人
收藏
专利号: 2024206807371
申请人: 覃炎琼
专利类型:实用新型
专利状态:已下证
专利领域: 水利工程;基础;疏浚
更新日期:2025-04-15
缴费截止日期: 暂无
价格&联系人
年费信息
委托购买

摘要:

权利要求书:

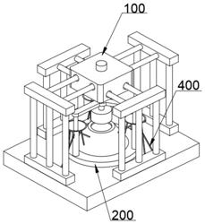
1.一种自校正振动桩锤,其特征在于,包括:

锤击模块(100)包括底板(110)、安装于所述底板(110)顶部的两个高撑架(120)和两个矮撑架(140)、连接于两个高撑架(120)之间的两个长横轴(130)、连接于两个矮撑架(140)之间的两个短横轴(150)、活动连接于两个长横轴(130)和两个短横轴(150)之间的矩形块(160)、竖向贯穿于所述矩形块(160)的气缸(170)、与所述气缸(170)活动端连接的锤体(180)、设于所述锤体(180)底部并且与底板(110)顶部固接的物体限位台(190),所述矩形块(160)上开设有多个适于长横轴(130)、短横轴(150)贯穿的插孔(161);

矫正模块(200)包括连接于所述底板(110)和物体限位台(190)之间的垫环(210)、与所述垫环(210)顶部连接的导向管(220)、与所述导向管(220)顶端连接的引导斗(230)、套接于所述气缸(170)活动端外侧的三叶板(240)、与所述三叶板(240)底部连接的多个插杆(250)、活动嵌设于所述插杆(250)底端的滚珠(260),多个插杆(250)分别与多个导向管(220)活动插接。

2.根据权利要求1所述的一种自校正振动桩锤,其特征在于,所述长横轴(130)设于短横轴(150)顶部,并且长横轴(130)的直径与短横轴(150)的直径相等。

3.根据权利要求1所述的一种自校正振动桩锤,其特征在于,所述插孔(161)的直径大于长横轴(130)的直径。

4.根据权利要求1所述的一种自校正振动桩锤,其特征在于,所述物体限位台(190)顶部开设有打桩通道,所述打桩通道的直径与锤体(180)的直径相等。

5.根据权利要求1所述的一种自校正振动桩锤,其特征在于,多个导向管(220)等间距、合围于物体限位台(190)外侧,所述导向管(220)与引导斗(230)内部连通。

6.根据权利要求1所述的一种自校正振动桩锤,其特征在于,所述导向管(220)和引导斗(230)连接有两个加强筋(300),两个加强筋(300)关于导向管(220)竖向对称。

7.根据权利要求6所述的一种自校正振动桩锤,其特征在于,所述加强筋(300)外侧安装有两个支架(400),多个支架(400)底端分别与底板(110)顶部、物体限位台(190)外壁固接。