欢迎来到知嘟嘟! 联系电话:13336804447 卖家免费入驻,海量在线求购! 卖家免费入驻,海量在线求购!
知嘟嘟
我要发布
联系电话:13336804447
知嘟嘟经纪人
收藏
专利号: 2024206591362
专利类型:实用新型
专利状态:未下证
专利领域: 暂无
更新日期:2025-04-16
缴费截止日期: 暂无
价格&联系人
年费信息
委托购买

摘要:

权利要求书:

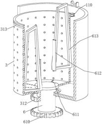
1.一种采煤沉陷区沉积物中微塑料的提取装置,包括装置外壳,其特征在于:

所述装置外壳内部设置有滤筒,且装置外壳上端通过固定套块铰接有盖板,所述盖板盖合在滤筒内,所述滤筒内设置有加热装置,所述滤筒底端设置有双向传动机构,所述滤筒内部底端设置有刮除机构;

所述双向传动机构包括从动连接轴,所述从动连接轴转动连接在滤筒底端中部,所述从动连接轴底端固定连接有下从动齿轮,所述从动连接轴转动在上从动齿轮内,所述上从动齿轮固定连接在滤筒底端中部。

2.如权利要求1所述的一种采煤沉陷区沉积物中微塑料的提取装置,其特征在于,所述滤筒外壁与底端均匀开设有滤孔,且滤筒底端位于上从动齿轮外侧固定连接有连接转块,所述连接转块转动连接在装置外壳底端内壁。

3.如权利要求2所述的一种采煤沉陷区沉积物中微塑料的提取装置,其特征在于,所述上从动齿轮和所述下从动齿轮中部均啮合连接在主动齿轮的上下两端,且主动齿轮通过输出轴连接有驱动电机,所述驱动电机固定安装于装置外壳底端对应处。

4.如权利要求3所述的一种采煤沉陷区沉积物中微塑料的提取装置,其特征在于,所述装置外壳底端远离驱动电机处开设有连通孔,所述连通孔内安装有排水控制管。

5.如权利要求4所述的一种采煤沉陷区沉积物中微塑料的提取装置,其特征在于,所述装置外壳内壁上部对称通过固定套块固定转动连接有滚轮,且两组滚轮内侧均滚动连接在限位环槽内,所述限位环槽开设在滤筒外壁对应处。

6.如权利要求1所述的一种采煤沉陷区沉积物中微塑料的提取装置,其特征在于,所述刮除机构包括插设槽,所述插设槽对称开设在从动连接轴上端,且两组插设槽内均插设连接有插板。

7.如权利要求6所述的一种采煤沉陷区沉积物中微塑料的提取装置,其特征在于,两组所述插板外侧均固定连接有刮除板,所述刮除板外壁均抵接在滤筒内壁处。