欢迎来到知嘟嘟! 联系电话:13336804447 卖家免费入驻,海量在线求购! 卖家免费入驻,海量在线求购!
知嘟嘟
我要发布
联系电话:13336804447
知嘟嘟经纪人
收藏
专利号: 202420597939X
专利类型:实用新型
专利状态:未下证
专利领域: 暂无
更新日期:2024-12-31
缴费截止日期: 暂无
价格&联系人
年费信息
委托购买

摘要:

权利要求书:

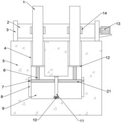
1.一种金属样件折弯机,包括工作台(5),其特征在于:所述工作台(5)顶端的两侧均安装有安装座(3),且安装座(3)之间安装有折弯辊(2),所述安装座(3)的一侧安装有电机(13),且电机(13)与折弯辊(2)相连接,所述工作台(5)的内部设置有容纳槽(9),且容纳槽(9)顶端的工作台(5)的内部均匀设置有放置槽(4),所述容纳槽(9)的内部安装有丝杆(11),且丝杆(11)的外侧安装有第一锥齿轮(10),所述工作台(5)的一端安装有把手(19),且把手(19)的一端深入容纳槽(9)的内部安装有第二锥齿轮(20),所述第一锥齿轮(10)与第二锥齿轮(20)啮合连接,所述丝杆(11)的外侧安装有螺纹板(21),且螺纹板(21)的顶端均匀安装有调节杆(6),所述调节杆(6)的顶端均安装有底板(12),且底板(12)的顶端均安装有金属样件主体(1),所述底板(12)的一端均安装有指标(18),所述折弯辊(2)的一端均匀安装有连接座(27),且连接座(27)的一端均安装有夹持板(14)。

2.根据权利要求1所述的一种金属样件折弯机,其特征在于:所述螺纹板(21)的两侧均安装有导向块(7),所述容纳槽(9)两侧的工作台(5)的内部均设置有导向槽(8),且导向槽(8)均与导向块(7)相连接。

3.根据权利要求2所述的一种金属样件折弯机,其特征在于:所述导向槽(8)的宽度均与导向块(7)的宽度大小相匹配,所述导向槽(8)和导向块(7)均关于螺纹板(21)的中轴线呈对称设置。

4.根据权利要求1所述的一种金属样件折弯机,其特征在于:所述工作台(5)的一端均设置有螺纹槽(15),且螺纹槽(15)的内部均安装有螺纹杆(16),所述螺纹杆(16)的内侧均安装有压板(17)。

5.根据权利要求1所述的一种金属样件折弯机,其特征在于:所述夹持板(14)的一端均安装有连接块(22),所述连接座(27)的内部均设置有连接槽(23),所述连接槽(23)均与连接块(22)相连接。

6.根据权利要求5所述的一种金属样件折弯机,其特征在于:所述连接槽(23)的宽度均与连接块(22)的宽度大小相匹配,所述连接块(22)和连接槽(23)的剖面均设置呈梯形。

7.根据权利要求5所述的一种金属样件折弯机,其特征在于:所述连接块(22)的底端均安装有螺纹头(26),且螺纹头(26)的外侧均安装有螺纹盖(25),所述螺纹盖(25)的顶端均安装有垫片(24)。

我要求购
我不想找了,帮我找吧
您有专利需要变现?
我要出售
智能匹配需求,快速出售