欢迎来到知嘟嘟! 联系电话:13336804447 卖家免费入驻,海量在线求购! 卖家免费入驻,海量在线求购!
知嘟嘟
我要发布
联系电话:13336804447
知嘟嘟经纪人
收藏
专利号: 2024205138303
专利类型:实用新型
专利状态:未下证
专利领域: 暂无
更新日期:2025-03-18
缴费截止日期: 暂无
价格&联系人
年费信息
委托购买

摘要:

权利要求书:

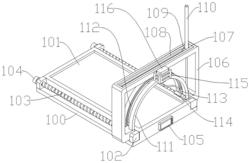
1.一种家具去甲醛装置,包括动力架(106),其特征在于:所述动力架(106)上侧设有通孔(107),所述通孔(107)内固定连接有左右对称的两个电动滑轨(108),所述电动滑轨(108)动力连接有滑块(109),所述滑块(109)上端面固定连接有电动推杆(110),所述动力架(106)固定连接有喷雾架(111),所述喷雾架(111)内设有滑动槽(112),所述滑动槽(112)滑动连接有滑动板(113),所述滑动板(113)固定连接有朝向内侧的喷雾机(114),所述喷雾机(114)固定连接有左右对称的两块连接板(119),所述连接板(119)与所述电动推杆(110)底端转动连接,所述动力架(106)右端面固定连接有置物架(115),所述置物架(115)内放置有药水罐(116),所述置物架(115)下端面固定连接有液泵(118),所述液泵(118)与所述喷雾机(114)之间固定连接有输送管(117)。

2.根据权利要求1所述的一种家具去甲醛装置,其特征在于:所述动力架(106)左右滑动连接有底座(100),且所述动力架(106)设有前后对称的两个螺纹孔(120)。

3.根据权利要求2所述的一种家具去甲醛装置,其特征在于:所述底座(100)固定连接有前后两组左右对称的固定板(102),每组所述固定板(102)之间都转动连接有螺纹轴(103),所述螺纹轴(103)与所述动力架(106)上的所述螺纹孔(120)螺纹连接。

4.根据权利要求3所述的一种家具去甲醛装置,其特征在于:所述轴固定连接有电机(104),所述电机(104)与所述螺纹轴(103)动力连接。

5.根据权利要求4所述的一种家具去甲醛装置,其特征在于:所述底座(100)右端面固定连接有控制器(105)。