欢迎来到知嘟嘟! 联系电话:13336804447 卖家免费入驻,海量在线求购! 卖家免费入驻,海量在线求购!
知嘟嘟
我要发布
联系电话:13336804447
知嘟嘟经纪人
收藏
专利号: 2024203147242
申请人: 安徽金亿橡塑机械科技有限公司
专利类型:实用新型
专利状态:已下证
专利领域: 塑料的加工;一般处于塑性状态物质的加工
更新日期:2024-12-13
缴费截止日期: 暂无
价格&联系人
年费信息
委托购买

摘要:

权利要求书:

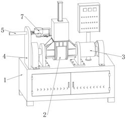
1.一种橡胶密炼机,包括工作台(1)、密炼仓(2)和驱动组件(3),其特征在于:所述密炼仓(2)固定于工作台(1)顶部的一侧,所述驱动组件(3)固定于工作台(1)顶部的另一侧,所述工作台(1)顶部的一侧固定有竖板(4),所述竖板(4)的一侧固定有气缸(5),所述气缸(5)的输出轴贯穿竖板(4)并固定有安装框架(6),所述安装框架(6)的内侧固定连接有下料斗(7),所述下料斗(7)的一侧固定有下料机构(8),所述安装框架(6)与下料斗(7)之间设有振动组件(9)。

2.根据权利要求1所述的一种橡胶密炼机,其特征在于:所述下料机构(8)包括L型固定板(81),所述L型固定板(81)固定于下料斗(7)的一侧,所述L型固定板(81)的一端固定有安装台(82),所述安装台(82)的顶部固定有电机(83),所述电机(83)的输出轴贯穿安装台(82)并固定有旋转凸轮(84),所述安装台(82)的一侧固定有连接柱(85),所述连接柱(85)的另一端滑动连接有滑杆(86),所述滑杆(86)的一端固定有下料挡板(87),所述滑杆(86)的另一端固定有弧形板(88),所述弧形板(88)的顶部开设有滑槽(89),所述滑槽(89)的内侧滑动连接有滚轮(810),所述滚轮(810)与滑槽(89)之间设有调节组件(10),所述滑杆(86)的表面设有复位组件(11)。

3.根据权利要求2所述的一种橡胶密炼机,其特征在于:所述调节组件(10)包括弧形通槽(101)和螺柱(102),所述弧形通槽(101)贯穿开设于滑槽(89)的表面,所述螺柱(102)固定于滚轮(810)的底部,所述螺柱(102)穿过弧形通槽(101)并螺纹连接有固定螺母(103)。

4.根据权利要求2所述的一种橡胶密炼机,其特征在于:所述复位组件(11)包括圆板(111),所述圆板(111)固定于滑杆(86)的表面,所述滑杆(86)的表面套设有复位弹簧(112)。

5.根据权利要求2所述的一种橡胶密炼机,其特征在于:所述滑杆(86)的上下两侧均固定有导向条(12),所述导向条(12)与连接柱(85)滑动连接。

6.根据权利要求1所述的一种橡胶密炼机,其特征在于:所述振动组件(9)包括两个立板(91),两个所述立板(91)固定于安装框架(6)的内侧,一侧所述立板(91)的外侧固定有驱动马达(92),所述驱动马达(92)的输出轴贯穿立板(91)并固定有凸轮台(93),所述下料斗(7)的一侧固定有固定套(94),所述固定套(94)的内侧滑动连接有顶杆(95),所述顶杆(95)的表面套设有振动弹簧(96),所述振动弹簧(96)的两端分别与固定套(94)和顶杆(95)相抵触,所述凸轮台(93)与顶杆(95)活动连接。