欢迎来到知嘟嘟! 联系电话:13336804447 卖家免费入驻,海量在线求购! 卖家免费入驻,海量在线求购!
知嘟嘟
我要发布
联系电话:13336804447
知嘟嘟经纪人
收藏
专利号: 2024202370981
申请人: 邯郸市邯伟建筑劳务分包有限公司
专利类型:实用新型
专利状态:已下证
专利领域: 建筑物
更新日期:2024-12-31
缴费截止日期: 暂无
价格&联系人
年费信息
委托购买

摘要:

权利要求书:

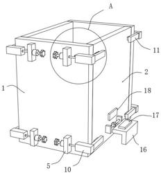
1.一种建筑安全用建筑模板,包括一号建筑模板(1)与二号建筑模板(2),其特征在于:所述二号建筑模板(2)的外侧固定连接有卡接板(3),所述一号建筑模板(1)的内部开设有卡接槽(4),所述一号建筑模板(1)的外侧固定连接有衔接板(5),所述衔接板(5)的外侧固定连接有螺纹管(6),所述螺纹管(6)的内部螺纹连接有螺杆(7),所述螺杆(7)的外侧固定连接有旋转罩(8),所述螺杆(7)远离旋转罩(8)的一端固定连接有推动杆(9),所述推动杆(9)的外侧卡接有移动板(10),所述移动板(10)的外侧固定连接有传动板(11),所述传动板(11)的外侧固定连接有稳固块(12),所述二号建筑模板(2)的内部开设有连接槽(13)。

2.根据权利要求1所述的一种建筑安全用建筑模板,其特征在于:所述二号建筑模板(2)的外侧固定连接有固定板(14),所述固定板(14)之间转动连接有旋转杆(15),所述旋转杆(15)的外侧固定连接有支撑板(16),所述支撑板(16)的外侧固定连接有一号磁极板(17),所述二号建筑模板(2)的外侧固定连接有二号磁极板(18)。

3.根据权利要求1所述的一种建筑安全用建筑模板,其特征在于:所述卡接板(3)对称分布在二号建筑模板(2)的外侧,所述卡接槽(4)对称分布在一号建筑模板(1)的内部,且卡接板(3)位于卡接槽(4)的内部。

4.根据权利要求1所述的一种建筑安全用建筑模板,其特征在于:所述衔接板(5)对称分布在一号建筑模板(1)的外侧,所述推动杆(9)通过螺杆(7)活动连接在衔接板(5)的外侧。

5.根据权利要求1所述的一种建筑安全用建筑模板,其特征在于:所述移动板(10)与传动板(11)的数量相同,所述稳固块(12)位于连接槽(13)的外侧。

6.根据权利要求2所述的一种建筑安全用建筑模板,其特征在于:所述固定板(14)对称分布在二号建筑模板(2)的外侧,所述支撑板(16)通过旋转杆(15)活动连接在二号建筑模板(2)的外侧。

7.根据权利要求2所述的一种建筑安全用建筑模板,其特征在于:所述一号磁极板(17)与二号磁极板(18)的数量相同,且一号磁极板(17)与二号磁极板(18)为异名磁极。