欢迎来到知嘟嘟! 联系电话:13336804447 卖家免费入驻,海量在线求购! 卖家免费入驻,海量在线求购!
知嘟嘟
我要发布
联系电话:13336804447
知嘟嘟经纪人
收藏
专利号: 2024200851205
专利类型:实用新型
专利状态:未下证
专利领域: 暂无
更新日期:2024-08-07
缴费截止日期: 暂无
价格&联系人
年费信息
委托购买

摘要:

权利要求书:

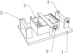
1.一种印染效果均匀的面料印染装置,其特征在于,包括

底板(1);

导入辊轮(2),所述导入辊轮(2)安装在底板(1)的顶部;

染色组件(3),所述染色组件(3)包括贮液箱(31)、入液导辊(32)、搅拌机构(33)、均匀染色机构(34)、刮板(35),所述贮液箱(31)的底部与底板(1)的顶部固定连接,所述入液导辊(32)安装在贮液箱(31)顶部的一侧,所述搅拌机构(33)设置在贮液箱(31)的内部,所述均匀染色机构(34)设置在贮液箱(31)的内部,所述均匀染色机构(34)的底部与底板(1)的顶部固定连接,所述刮板(35)安装在贮液箱(31)顶部远离入液导辊(32)的一侧;

所述搅拌机构(33)包括电机(331)、搅拌柱(332)、搅拌桨(333),所述电机(331)安装在贮液箱(31)宽度方向的一侧,所述搅拌柱(332)的一端与电机(331)的驱动轴固定连接,所述搅拌柱(332)的另一端与贮液箱(31)的内部转动连接,所述搅拌桨(333)安装在搅拌柱(332)的外表面;

导出辊轮(4),所述导出辊轮(4)安装在底板(1)的顶部。

2.根据权利要求1所述的印染效果均匀的面料印染装置,其特征在于,所述均匀染色机构(34)包括支撑架(341)、液压杆(342)、上夹板(343)、下夹板(344)、滚筒(345),所述支撑架(341)的底部与底板(1)的顶部固定连接,所述液压杆(342)的顶端与支撑架(341)的下方固定连接,所述上夹板(343)的顶部与液压杆(342)远离支撑架(341)的一端固定连接,所述下夹板(344)设置在上夹板(343)的下方,所述滚筒(345)设置在上夹板(343)和下夹板(344)的内部。

3.根据权利要求1所述的印染效果均匀的面料印染装置,其特征在于,还包括加热组件(5),所述加热组件(5)设置在贮液箱(31)的内部,用于为染色液加热。

4.根据权利要求3所述的印染效果均匀的面料印染装置,其特征在于,所述加热组件(5)包括控制终端(51)、温度传感器(52)、电热板(53),所述控制终端(51)安装在贮液箱(31)的外表面,所述温度传感器(52)设置在贮液箱(31)的内部,所述温度传感器(52)与控制终端(51)电性连接,所述电热板(53)的底部与贮液箱(31)的内部固定连接,所述电热板(53)与控制终端(51)电性连接。