欢迎来到知嘟嘟! 联系电话:13336804447 卖家免费入驻,海量在线求购! 卖家免费入驻,海量在线求购!
知嘟嘟
我要发布
联系电话:13336804447
知嘟嘟经纪人
收藏
专利号: 2024200778820
申请人: 李登文
专利类型:实用新型
专利状态:已下证
专利领域: 机床;其他类目中不包括的金属加工
更新日期:2025-01-20
缴费截止日期: 暂无
价格&联系人
年费信息
委托购买

摘要:

权利要求书:

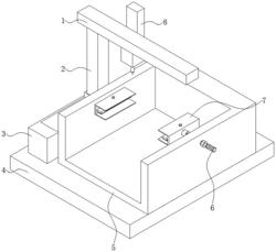
1.一种去毛边钻孔机,其特征在于:包括底座(4),所述底座(4)顶端的一端设置有固定架(5),所述固定架(5)一端的上方设置有转动电机(10),所述转动电机(10)的输出端设置有转动轴(12),所述转动轴(12)远离转动电机(10)的一端设置有固定结构(7),所述固定架(5)远离转动电机(10)一端的上方设置有限位座(18),所述限位座(18)的内部贯穿设置有连接杆(13),所述连接杆(13)靠近转动电机(10)的一端设置有转动座(16),所述转动座(16)远离连接杆(13)的一端也设置有固定结构(7)。

2.根据权利要求1所述的一种去毛边钻孔机,其特征在于:所述底座(4)顶端远离固定架(5)的一端设置有工作台(3),所述工作台(3)的顶端设置有一号电磁滑块(11),所述一号电磁滑块(11)的顶端设置有支撑杆(2),所述支撑杆(2)的顶端设置有横板(1),所述横板(1)的内部设置有二号电磁滑块(9),所述二号电磁滑块(9)的一侧设置有电动伸缩杆(8),所述电动伸缩杆(8)的输出端设置有打孔电机(15),所述打孔电机(15)的输出端设置有钻头(14)。

3.根据权利要求2所述的一种去毛边钻孔机,其特征在于:所述支撑杆(2)与横板(1)构成焊接一体化结构。

4.根据权利要求1所述的一种去毛边钻孔机,其特征在于:所述固定结构(7)包括固定夹(701)、夹板(702)、活动杆(703)和弹簧(704),所述固定夹(701)设置在转动轴(12)远离转动电机(10)的一端,所述活动杆(703)贯穿设置在固定夹(701)的顶端,所述弹簧(704)套设在活动杆(703)的外部,所述夹板(702)设置在活动杆(703)的底端。

5.根据权利要求4所述的一种去毛边钻孔机,其特征在于:所述夹板(702)的底端设置有防滑垫。

6.根据权利要求1所述的一种去毛边钻孔机,其特征在于:所述连接杆(13)外部滑动设置有限位套(17),所述限位套(17)的顶端贯穿设置有限位杆(19),所述连接杆(13)远离转动座(16)的一端设置有握把(6)。

7.根据权利要求6所述的一种去毛边钻孔机,其特征在于:所述握把(6)的外部设置有磨砂套。

我要求购
我不想找了,帮我找吧
您有专利需要变现?
我要出售
智能匹配需求,快速出售