欢迎来到知嘟嘟! 联系电话:13336804447 卖家免费入驻,海量在线求购! 卖家免费入驻,海量在线求购!
知嘟嘟
我要发布
联系电话:13336804447
知嘟嘟经纪人
收藏
专利号: 2024200777438
专利类型:其他
专利状态:未下证
专利领域: 暂无
更新日期:2024-10-25
缴费截止日期: 暂无
价格&联系人
年费信息
委托购买

摘要:

权利要求书:

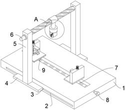
1.一种鞋制造用皮料切割装置,包括工作板(1)、拆卸结构、夹持结构以及切割结构,其特征在于,所述工作板(1)左右两侧壁上端均设置有滑槽(2),滑槽(2)内均滑动连接有卡块(3),卡块(3)上端均设置有延伸板(4),延伸板(4)与延伸板(4)上端设置有切割结构,切割结构上端设置有拆卸结构,工作板(1)上端面设置有夹持结构。

2.根据权利要求1所述的一种鞋制造用皮料切割装置,其特征在于,所述夹持结构包括第二丝杆(7)、摇杆(8)、第二螺纹套(9)、第二伺服电机(10)、双向丝杆(11)、竖向支撑板(12)、第三螺纹套(13)、夹持块(14)、凹凸块(15)、横向移动板(16),所述工作板(1)右侧壁上端设置有摇杆(8),摇杆(8)后端面固定连接有第二丝杆(7),第二丝杆(7)与工作板(1)右侧壁套设连接。

3.根据权利要求2所述的一种鞋制造用皮料切割装置,其特征在于,所述第二丝杆(7)上端螺纹连接有第二螺纹套(9),第二螺纹套(9)上端固定连接有横向移动板(16),横向移动板(16)上端面左侧设置有竖向支撑板(12),竖向支撑板(12)上端面设置有第二伺服电机(10),第二伺服电机(10)底端设置有双向丝杆(11),双向丝杆(11)与第二伺服电机固定连接,双向丝杆(11)上下两端均螺纹连接有第三螺纹套(13)。

4.根据权利要求2所述的一种鞋制造用皮料切割装置,其特征在于,所述第三螺纹套(13)上端均固定连接有夹持块(14),夹持块(14)与夹持块(14)相对面上端均设置有凹凸块(15)。

5.根据权利要求1所述的一种鞋制造用皮料切割装置,其特征在于,所述切割结构包括支撑杆(5)、第一伺服电机(6)、第一丝杆(18)、第一螺纹套(19)、电动伸缩杆(20)、安装块(21),所述延伸板(4)上端均设置有支撑杆(5),支撑杆(5)与支撑杆(5)之间设置有第一丝杆(18)。

6.根据权利要求5所述的一种鞋制造用皮料切割装置,其特征在于,所述第一丝杆(18)左侧端面固定连接有第一伺服电机(6),第一丝杆(18)与左侧设置的支撑杆(5)套设连接,第一丝杆(18)上端设置有第一螺纹套(19),第一螺纹套(19)底端设置有电动伸缩杆(20)。

7.根据权利要求6所述的一种鞋制造用皮料切割装置,其特征在于,所述电动伸缩杆(20)底端设置有安装块(21),安装块(21)内部设置有拆卸结构。

8.根据权利要求7所述的一种鞋制造用皮料切割装置,其特征在于,所述拆卸结构包括切割刀(17)、串联杆(22)、拆卸板(23)、复位弹簧(24)、卡板(25)、限位槽(26),所述安装块(21)内部设置有一对限位槽(26),限位槽(26)内均设置有一对复位弹簧(24)。

9.根据权利要求8所述的一种鞋制造用皮料切割装置,其特征在于,所述复位弹簧(24)另一端面均设置有卡板(25),限位槽(26)左侧均设置有拆卸板(23),拆卸板(23)与拆卸板(23)之间设置有串联杆(22),串联杆(22)上端设置有切割刀(17)。