欢迎来到知嘟嘟! 联系电话:13336804447 卖家免费入驻,海量在线求购! 卖家免费入驻,海量在线求购!
知嘟嘟
我要发布
联系电话:13336804447
知嘟嘟经纪人
收藏
专利号: 2024200188359
申请人: 苏州甲乙机械制造有限公司
专利类型:实用新型
专利状态:已下证
专利领域: 缝纫;绣花;簇绒
更新日期:2025-03-29
缴费截止日期: 暂无
价格&联系人
年费信息
委托购买

摘要:

权利要求书:

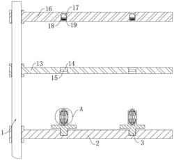
1.一种缝纫机的线架,包括支撑杆(1),其特征在于,所述支撑杆(1)侧壁贯穿固定连接有横板(2),所述横板(2)上端转动连接有多个托盘(3),所述托盘(3)上端固定连接有导向柱(4),所述导向柱(4)侧壁环形阵列分布设置有多个抵板(9),所述支撑杆(1)侧壁贯穿固定连接有板块(13),所述板块(13)位于横板(2)上方,所述板块(13)内部贯穿设置有多个导向槽(14),所述支撑杆(1)侧壁贯穿固定连接有引线板(16),所述引线板(16)位于板块(13)上方,所述引线板(16)内部贯穿设置有多个引线槽(17)。

2.根据权利要求1所述的一种缝纫机的线架,其特征在于,所述导向柱(4)内部转动连接有杆体(5),所述导向柱(4)内部滑动连接有两个活动块(6),所述杆体(5)与活动块(6)贯穿螺纹转动连接,所述活动块(6)侧壁环形阵列分布设置有多个滑块(7),所述滑块(7)与导向柱(4)侧壁贯穿滑动连接。

3.根据权利要求2所述的一种缝纫机的线架,其特征在于,所述滑块(7)端部固定连接有连接块(8),所述抵板(9)内侧对称固定连接有两个连接座(10),所述连接块(8)与连接座(10)之间铰接有连接杆(11)。

4.根据权利要求1所述的一种缝纫机的线架,其特征在于,所述抵板(9)外侧固定连接有防护垫(12)。

5.根据权利要求1所述的一种缝纫机的线架,其特征在于,所述导向槽(14)内部转动连接有两个滚筒(15)。

6.根据权利要求1所述的一种缝纫机的线架,其特征在于,所述引线板(16)内部滑动连接有多个活动板(18),所述活动板(18)下端与引线板(16)内部之间固定连接有弹簧(19),所述活动板(18)与引线槽(17)滑动连接。

我要求购
我不想找了,帮我找吧
您有专利需要变现?
我要出售
智能匹配需求,快速出售