欢迎来到知嘟嘟! 联系电话:13336804447 卖家免费入驻,海量在线求购! 卖家免费入驻,海量在线求购!
知嘟嘟
我要发布
联系电话:13336804447
知嘟嘟经纪人
收藏
专利号: 2024110662399
申请人: 江苏富比亚化学品有限公司
专利类型:发明专利
专利状态:授权未缴费
专利领域: 测量;测试
更新日期:2025-06-23
缴费截止日期: 暂无
价格&联系人
年费信息
委托购买

摘要:

权利要求书:

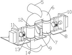
1.一种危险化学品液体介质在线颜色检测装置,包括罐体(1),其特征在于,所述罐体(1)的底端固定套设有竖直设置的底座(2),所述罐体(1)的底端固定连接有卸料管(3),所述卸料管(3)与罐体(1)的外侧壁上分别固定连接有水平设置的导管一(4)与导管二(5),所述导管一(4)远离卸料管(3)的一端与导管二(5)远离罐体(1)的一端均固定连接有竖直设置的U型管(6),两个所述U型管(6)的中部和导管一(4)与导管二(5)分别相互连通且两个U型管(6)相对设置,两个所述U型管(6)之间共同连接有两个透明管(7),两个所述透明管(7)分别连接在两个U型管(6)上下相对应的端口上;

所述底座(2)上连接有两个相互对称设置的支撑板一(8),两个所述支撑板一(8)呈水平设置并分别位于两个透明管(7)的两侧,两个所述支撑板一(8)之间水平设置有位于两个透明管(7)之间的支撑板二(9),支撑板二(9)连接在底座(2)上,所述支撑板一(8)上均竖直设置有支撑座(10),两个所述支撑座(10)之间共同水平连接有固定杆一(11),所述固定杆一(11)上水平连接有两个套环一(12)并分别套设在两个透明管(7)与位于上侧的U型管(6)的连接处,位于下侧的所述U型管(6)的两个端口与两个透明管(7)的连接处分别固定套设有套环二(14),两个所述套环二(14)与两个支撑座(10)之间固定连接有水平设置的固定杆二(13);

两个所述支撑座(10)相反的一侧上均固定设置有电池组(18),两个所述支撑座(10)相对的一侧分别固定连接有位于同一水平轴线上的照射灯(19),所述固定杆一(11)与固定杆二(13)上共同滑动套设有竖直设置的滑座(15),所述滑座(15)的中部设置有紧固环,所述紧固环的内部套设有光学仪器(16),所述紧固环的外侧壁上设置有用于紧固光学仪器(16)的旋钮(17),所述固定杆一(11)上滑动套设有测光板(20),测光板(20)位于两个透明管(7)之间,所述支撑板二(9)上设置有接收器(21)且接收器(21)的接收端口与两个照射灯(19)处于同一轴线上,所述接收器(21)的前端竖直连接有色谱板(22);

所述导管二(5)上固定连接有液压泵(23)并固定连接在罐体(1)的外侧壁上;

所述支撑板一(8)及其连接件与支撑板二(9)及其连接件的设置一致且关于罐体(1)呈对称设置;

所述滑座(15)上设置有用于固定滑座(15)的螺栓一并与固定杆一(11)处于同一高度;

所述测光板(20)的两侧均设置有便于观测投射光的倾斜曲面,所述测光板(20)的前后两侧均设置有颗粒圆点。

2.根据权利要求1所述的一种危险化学品液体介质在线颜色检测装置,其特征在于,所述底座(2)的底端上开设有三个与支撑板一(8)和支撑板二(9)相对应的插孔,所述插孔的端口位于底座(2)的外侧壁上且三个插孔的长度相等。

3.根据权利要求1所述的一种危险化学品液体介质在线颜色检测装置,其特征在于,位于滑座(15)中部的所述紧固环由固定套、软夹套和两个弹簧组成,所述软夹套套设在固定套内且其上下端与固定套连接,所述弹簧位于固定套与软夹套之间并分别位于软夹套的左右两侧。