欢迎来到知嘟嘟! 联系电话:13095918853 卖家免费入驻,海量在线求购! 卖家免费入驻,海量在线求购!
知嘟嘟
我要发布
联系电话:13095918853
知嘟嘟经纪人
收藏
专利号: 2024109604532
申请人: 山东奥纳尔制冷科技有限公司
专利类型:发明专利
专利状态:授权未缴费
专利领域: 输送;包装;贮存;搬运薄的或细丝状材料
更新日期:2025-03-14
缴费截止日期: 暂无
价格&联系人
年费信息
委托购买

摘要:

权利要求书:

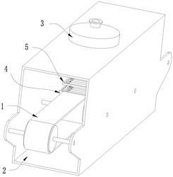
1.一种食品直线往复速冻隧道,包括速冻隧道的机体(2),所述机体(2)上安装有制冷系统(3),所述机体(2)两端各安装有输送带(1),其特征在于,还包括:安置于所述机体(2)内的固定仓(4),所述固定仓(4)内部储存有稀释液,所述固定仓(4)顶部敞口且其设于两个所述输送带(1)之间;

设于所述固定仓(4)内的升降架(8),所述升降架(8)由安装在所述固定仓(4)内的升降单元驱动其竖直移动;

设于所述升降架(8)上方的浮动架(5),所述浮动架(5)上转动连接有第一揉压辊(7),所述升降架(8)上转动连接有第二揉压辊(6);

连接于所述升降架(8)上的往复旋转单元,所述往复旋转单元用于在所述升降架(8)竖直移动时,驱动所述第二揉压辊(6)往复旋转。

2.根据权利要求1所述的食品直线往复速冻隧道,其特征在于,所述升降单元包括:竖直安装于所述固定仓(4)内的升降气缸(15),所述升降气缸(15)的气缸杆上连接有连接柱(16);

固接于所述升降架(8)上的支架(12),所述支架(12)与所述连接柱(16)的上端铰接;

设于所述连接柱(16)上的翻转组件,所述翻转组件用于驱动所述支架(12)沿所述支架(12)在所述连接柱(16)上的铰接轴转动。

3.根据权利要求2所述的食品直线往复速冻隧道,其特征在于,所述翻转组件包括:铰接于所述连接柱(16)上的活动铰座,所述活动铰座上安装有翻转气缸(17);

铰接于所述支架(12)上的连接头(18),所述连接头(18)与所述翻转气缸(17)的气缸杆连接。

4.根据权利要求1所述的食品直线往复速冻隧道,其特征在于,所述往复旋转单元包括:固定连接于所述第二揉压辊(6)上的齿轮(20),所述第二揉压辊(6)与所述齿轮(20)呈同轴状态;

竖直安装于所述固定仓(4)内侧壁所开设的安装槽(11)内的条形板(19),所述条形板(19)外壁自上而下设有多个齿条部(23),所述齿轮(20)与所述齿条部(23)配合使用;

设于所述升降架(8)上的复位组件,所述复位组件用于在所述齿轮(20)脱离与所述齿条部(23)啮合时,驱动所述齿轮(20)转动。

5.根据权利要求4所述的食品直线往复速冻隧道,其特征在于,所述复位组件包括同轴固接于所述第二揉压辊(6)上的枢轴(22),所述升降架(8)外壁开设有盲孔形式的安装孔,所述安装孔内安装有涡卷弹簧(21),所述涡卷弹簧(21)固定地套接在所述枢轴(22)上,且其弹力方向两端分别固接于所述安装孔内壁和所述枢轴(22)周缘。

6.根据权利要求1所述的食品直线往复速冻隧道,其特征在于,所述第一揉压辊(7)、第二揉压辊(6)表面设有橡胶层。

7.根据权利要求1所述的食品直线往复速冻隧道,其特征在于,所述升降架(8)上设有驱动单元,所述驱动单元用于在所述升降架(8)朝下运动时,驱动所述浮动架(5)相对所述升降架(8)朝下运动。

8.根据权利要求7所述的食品直线往复速冻隧道,其特征在于,所述驱动单元包括:竖直固接于所述升降架(8)上的固定筒(24),所述固定筒(24)内部固接有隔板,所述隔板将所述固定筒(24)内部自上而下依次隔成第一空腔(28)、第二空腔(29),所述固定筒(24)上设有连接管(25),所述连接管(25)两端分别与所述第一空腔(28)、第二空腔(29)贯通;

同轴卡合于所述第一空腔(28)内的第一活塞(27),所述第一活塞(27)在所述第一空腔(28)内上下自由滑动;

竖直固接于所述第一活塞(27)上的第一滑动杆(10),所述第一滑动杆(10)穿出所述固定筒(24)且自由滑动,所述第一滑动杆(10)穿出所述固定筒(24)的一端固接于所述浮动架(5)上;

同轴卡合于所述第二空腔(29)内的第二活塞(26),所述第二活塞(26)在所述第二空腔(29)内上下自由滑动;

设于所述第二活塞(26)上的浮力驱动组件,所述浮力驱动组件用于驱动所述第二活塞(26)朝上运动。

9.根据权利要求8所述的食品直线往复速冻隧道,其特征在于,所述第一滑动杆(10)上套绕有复位弹簧(9),所述复位弹簧(9)弹力方向两端分别弹性抵顶所述升降架(8)和所述浮动架(5)。

10.根据权利要求8所述的食品直线往复速冻隧道,其特征在于,所述浮力驱动组件包括竖直固接于所述第二活塞(26)上的第二滑动杆(13),所述第二滑动杆(13)下端穿出所述固定筒(24)且自由滑动,所述第二滑动杆(13)下端固接有浮球(14)。