欢迎来到知嘟嘟! 联系电话:13336804447 卖家免费入驻,海量在线求购! 卖家免费入驻,海量在线求购!
知嘟嘟
我要发布
联系电话:13336804447
知嘟嘟经纪人
收藏
专利号: 2024106664974
申请人: 山东鑫府建设工程有限公司
专利类型:发明专利
专利状态:授权未缴费
专利领域: 测量;测试
更新日期:2025-01-06
缴费截止日期: 暂无
价格&联系人
年费信息
委托购买

摘要:

权利要求书:

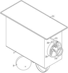
1.一种配电网故障监测设备,包括外箱(1),其特征在于,还包括:

共轴线的两个通孔(2),分别设置在所述外箱(1)的两侧,

其中,所述外箱(1)内通过第一支架(3)转动安装有检测管(4),所述检测管(4)的内壁设有监测部件,所述外箱(1)内设有驱动检测管(4)持续转动的驱动部;

移动部,设置在所述外箱(1)内,所述移动部用于驱动外箱(1)沿着两个通孔(2)的轴线线性移动;

所述监测部件包括固定安装在检测管(4)内壁的局部放电传感器(5)和图像采集模块(6);

所述驱动部包括转动安装在外箱(1)底部的主动轴(7),所述主动轴(7)的下端安装有风杯(8),所述主动轴(7)的上端与检测管(4)的外壁均固定安装有第一齿轮(9),两个所述第一齿轮(9)之间啮合连接;

所述移动部包括固定连接在外箱(1)内的第二支架(10),所述第二支架(10)上转动连接有两对矩形分布的转杆(11),每根所述转杆(11)的外壁均固定安装有滚轮(12),且所述滚轮(12)的外壁设有环形凹槽,所述外箱(1)内设有驱动其中一根转杆(11)转动的驱动源;

两个所述通孔(2)内均转动安装有清理管(20),两个所述清理管(20)内均固定设有圆周分布的扇叶(21)与毛刷(22),两组所述毛刷(22)分别靠近于两个通孔(2)的端口,所述清理管(20)通过联动部件与主动轴(7)连接,所述外箱(1)的外壁固定连接有与其连通的进气管(34);

所述联动部包括转动连接在外箱(1)内的传动杆(27),所述传动杆(27)的一端与主动轴(7)之间通过两个啮合的第二齿轮(29)连接,所述传动杆(27)的另一端固定安装有主动齿轮(28),所述清理管(20)的外壁固定安装有与主动齿轮(28)啮合连接的环形齿轮(23);

所述驱动源包括设置在外箱(1)外壁的横孔(26),所述横孔(26)内套设有横轴(15),所述横轴(15)上固定安装有两个对称设置的主动锥形盘(16),所述外箱(1)内通过竖轴(14)转动安装有蜗杆(36),其中一个所述转杆(11)上固定安装有与蜗杆(36)啮合连接的蜗轮(13);

其中,所述竖轴(14)上固定安装有与其中一个主动锥形盘(16)边沿相抵的从动锥形盘(18),两个所述主动锥形盘(16)设置于从动锥形盘(18)的两侧,所述横轴(15)上固定安装有与环形齿轮(23)啮合连接的长杆形齿轮(19),所述横轴(15)上设有驱动横轴(15)轴向往复移动的掉头部件;

所述掉头部件包括转动连接在横轴(15)两端的限位块(24),所述限位块(24)上固定连接有导向杆(30),所述导向杆(30)滑动插接在外箱(1)的外壁;

其中,所述横轴(15)的两端均转动连接有环形板(17),所述外箱(1)的两侧内壁均固定连接有磁铁(25),其中一侧的所述环形板(17)吸附在所述磁铁(25)上。

2.根据权利要求1所述的一种配电网故障监测设备,其特征在于,所述外箱(1)的顶部安装有光伏板(31),所述光伏板(31)的输出端与局部放电传感器(5)和图像采集模块(6)输入端电性连接。

3.根据权利要求2所述的一种配电网故障监测设备,其特征在于,所述外箱(1)的顶部固定连接有两个对称设置的支板(32),所述光伏板(31)固定安装在支板(32)的顶部,所述光伏板(31)、两个支板(32)与外箱(1)的顶部之间形成进气槽(33);

其中,所述进气槽(33)的两端均安装有滤网(35),所述进气管(34)的输入端位于进气槽(33)内,所述检测管(4)的外壁设有圆周分布的进气孔(37),所述进气管(34)的输入端朝向检测管(4)外壁的进气孔(37)。