欢迎来到知嘟嘟! 联系电话:13336804447 卖家免费入驻,海量在线求购! 卖家免费入驻,海量在线求购!
知嘟嘟
我要发布
联系电话:13336804447
知嘟嘟经纪人
收藏
专利号: 2024101948058
申请人: 辽宁幕后科技发展有限公司
专利类型:发明专利
专利状态:已下证
专利领域: 测量;测试
更新日期:2025-03-31
缴费截止日期: 暂无
价格&联系人
年费信息
委托购买

摘要:

权利要求书:

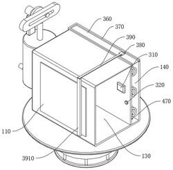
1.一种激光雷达调节装置,包括安装盒主体(100),其特征在于:所述安装盒主体(100)一侧固定安装有调节机构(200),所述安装盒主体(100)顶部滑动连接有清洁机构(300),所述安装盒主体(100)底部设有转向机构(400);

所述安装盒主体(100)外侧一端安装有探测窗口(110),所述安装盒主体(100)内腔安装有隔板(120),所述隔板(120)将安装盒主体(100)分为机体腔室(130)和后腔室(140);

所述调节机构(200)包括固定安装在所述安装盒主体(100)一侧的活塞筒(210),所述活塞筒(210)顶部贯穿有活塞杆(220),所述活塞杆(220)延伸至所述活塞筒(210)内腔固定有活塞(230),所述活塞杆(220)另一端位于所述活塞筒(210)外侧固定有活动方块(240),所述活动方块(240)中间开设有活动槽(241),所述活塞筒(210)顶部一侧安装有固定座(250),所述固定座(250)顶部固定安装有电机(260),所述电机(260)一侧转动连接有一号转轴(270),所述一号转轴(270)另一侧固定有转盘(280),所述转盘(280)边缘处固定有活动杆(290),所述活动杆(290)卡合至所述活动槽(241)内,所述活塞筒(210)底部一侧安装有第一气管(2910),所述活塞筒(210)底部另一侧安装有第二气管(2930);

所述清洁机构(300)包括安装在所述隔板(120)一侧的气压检测器(310),所述隔板(120)位于所述气压检测器(310)一侧安装有一号电磁阀(320),所述后腔室(140)一侧固定安装有三组弹簧(330),所述弹簧(330)另一端固定有方形滑动板(340),所述方形滑动板(340)顶部安装有正极磁石(350),所述后腔室(140)顶部安装有薄板(360),所述薄板(360)下表面与所述正极磁石(350)相贴合,所述薄板(360)上表面对应位置处滑动连接有负极磁石(380),所述负极磁石(380)顶部固定有连接杆(390),所述连接杆(390)另一端固定安装有清洁板(3910),所述清洁板(3910)与所述探测窗口(110)表面相贴合;

所述转向机构(400)包括固定安装在所述安装盒主体(100)底部的底盘(410),所述底盘(410)底部固定连接有二号转轴(420),所述二号转轴(420)另一端安装有底座(440),所述二号转轴(420)与所述底座(440)转动连接,所述二号转轴(420)外侧套设有扇叶(430),所述底座(440)上表面边缘设有等距分布的固定柱(450),所述固定柱(450)另一端固定安装有固定板(460),所述后腔室(140)底部一侧安装有二号电磁阀(470),所述二号电磁阀(470)另一端安装有连接管(480)。

2.根据权利要求1所述的一种激光雷达调节装置,其特征在于:所述第一气管(2910)另一端固定安装有干燥管(2920)。

3.根据权利要求1所述的一种激光雷达调节装置,其特征在于:所述薄板(360)上表面两侧固定安装有滑槽(370),所述负极磁石(380)与所述滑槽(370)两侧滑动连接。

4.根据权利要求1所述的一种激光雷达调节装置,其特征在于:所述后腔室(140)的底部安装有第三气管(3920),所述第三气管(3920)贯穿于所述安装盒主体(100)与外界连通。

5.根据权利要求1所述的一种激光雷达调节装置,其特征在于:所述固定板(460)顶部转动连接有转环,所述转环与底盘(410)固定连接,所述连接管(480)另一端贯穿于所述转环至另一侧,所述连接管(480)另一端对准所述扇叶(430)一侧。