欢迎来到知嘟嘟! 联系电话:13336804447 卖家免费入驻,海量在线求购! 卖家免费入驻,海量在线求购!
知嘟嘟
我要发布
联系电话:13336804447
知嘟嘟经纪人
收藏
专利号: 2023236275923
申请人: 海南乐卓维尔科技工程有限公司
专利类型:实用新型
专利状态:已下证
专利领域: 信号装置
更新日期:2024-11-06
缴费截止日期: 暂无
价格&联系人
年费信息
委托购买

摘要:

权利要求书:

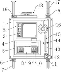
1.一种基于物联网楼宇安全监控报警装置,包括壳体(1)和操作面板(2),其特征在于:所述壳体(1)前端的左上角安装有操作面板(2),且操作面板(2)的左侧安装有指示灯牌(3),所述壳体(1)内部左下角预留有放置腔(4),且放置腔(4)内部的左侧活动铰接有框体(5),所述框体(5)内部的底端活动连接有旋盘(8),所述旋盘(8)内部的两侧、前方与后方皆设置有空腔(9),所述空腔(9)的底部固定有安插块(10),且安插块(10)的上方安插有净化盒(23),所述空腔(9)的外部设置有槽口(21),且槽口(21)的里侧插接有塞块(20),所述操作面板(2)底部的右侧穿过框体(5)安装有连接管(22),所述壳体(1)外部顶端的左侧固定有风机(18)。

2.根据权利要求1所述的一种基于物联网楼宇安全监控报警装置,其特征在于:所述框体(5)可于放置腔(4)内部的左侧原地旋转,所述旋盘(8)可于框体(5)内部的底端原地旋转。

3.根据权利要求1所述的一种基于物联网楼宇安全监控报警装置,其特征在于:所述空腔(9)与槽口(21)相连通,所述塞块(20)与槽口(21)的大小相匹配。

4.根据权利要求1所述的一种基于物联网楼宇安全监控报警装置,其特征在于:所述壳体(1)内部的右上方设置有圆槽(26),且圆槽(26)内部上方的两端皆焊接有吊架(25),所述吊架(25)的内部一端之间活动连接有卷盘(16),且卷盘(16)与吊架(25)之间的前方安装有电机(24),所述壳体(1)内部右侧的中心处设置有竖槽(13),且竖槽(13)内部中心处的两侧皆活动连接有导向轮(14),所述竖槽(13)的底部设置有开口(11),所述卷盘(16)的外部缠绕有线束(15),且线束(15)的底部固定有报警按钮(12)。

5.根据权利要求4所述的一种基于物联网楼宇安全监控报警装置,其特征在于:所述线束(15)贯穿圆槽(26)、竖槽(13)与开口(11),所述线束(15)可沿竖槽(13)及开口(11)上下活动。

6.根据权利要求4所述的一种基于物联网楼宇安全监控报警装置,其特征在于:所述导向轮(14)对称贴合在线束(15)的表面,所述电机(24)可控制卷盘(16)旋转。

7.根据权利要求1所述的一种基于物联网楼宇安全监控报警装置,其特征在于:所述壳体(1)后方的两侧皆垂直排列有滑轨(7),且滑轨(7)前方中心处的顶端与底端之间设置有阻尼滑槽(17),所述壳体(1)顶部与底部的两侧皆焊接有套块(6),且套块(6)与壳体(1)的内部纵向设置有矩形槽(27),所述套块(6)内部的前方活动连接有滑轮(19)。

8.根据权利要求7所述的一种基于物联网楼宇安全监控报警装置,其特征在于:所述壳体(1)可配合套块(6)可沿滑轨(7)外壁垂直移动,所述壳体(1)与套块(6)处于同一垂直面。