欢迎来到知嘟嘟! 联系电话:13336804447 卖家免费入驻,海量在线求购! 卖家免费入驻,海量在线求购!
知嘟嘟
我要发布
联系电话:13336804447
知嘟嘟经纪人
收藏
专利号: 2023236194362
申请人: 山东瀚广建设项目管理有限公司潍城分公司
专利类型:实用新型
专利状态:已下证
专利领域: 输送;包装;贮存;搬运薄的或细丝状材料
更新日期:2025-04-18
缴费截止日期: 暂无
价格&联系人
年费信息
委托购买

摘要:

权利要求书:

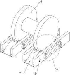
1.一种建筑电气线路铺设装置,包括电缆盘(1)和回转台(2),其特征在于:所述回转台(2)设置为两组,一组为对称放置的两个,两个所述回转台(2)之间滑动组装有滑动轴(204),所述回转台(2)的中部贯穿式开设有用于供所述滑动轴(204)滑动的滑动槽一(208),所述滑动轴(204)的两端且位于所述回转台(2)的外侧活动插接有滑动杆(205),所述滑动杆(205)的两侧固定连接有定位杆(206),所述回转台(2)的外壁且位于所述滑动槽一(208)的两侧阵列式开设有用于供所述定位杆(206)嵌入卡合的定位孔(209),所述滑动轴(204)的外壁且位于两个所述回转台(2)之间转动连接有回转轮(202),所述回转轮(202)通过螺钉(212)对称可拆卸式连接有限位圈(203),所述限位圈(203)的内壁对称式固定连接有滑动块二(213),所述回转轮(202)的两侧外壁开设有用于供所述滑动块二(213)滑动的滑动槽三(214)。

2.根据权利要求1所述的一种建筑电气线路铺设装置,其特征在于:两个所述回转台(2)通过各自内壁开设的滑动槽二(211)对称滑动连接有垫板(201)。

3.根据权利要求1所述的一种建筑电气线路铺设装置,其特征在于:所述滑动轴(204)通过螺栓装置(207)与所述滑动杆(205)可拆卸式连接。

4.根据权利要求1所述的一种建筑电气线路铺设装置,其特征在于:两组所述回转台(2)之间活动放置有电缆盘(1)。

5.根据权利要求1所述的一种建筑电气线路铺设装置,其特征在于:所述回转轮(202)的顶部阵列式开设有用于供所述螺钉(212)嵌入固定的固定孔(215)。

6.根据权利要求2所述的一种建筑电气线路铺设装置,其特征在于:所述垫板(201)的两侧固定连接有用于在滑动槽二(211)内部滑动的滑动块一(210)。