欢迎来到知嘟嘟! 联系电话:13336804447 卖家免费入驻,海量在线求购! 卖家免费入驻,海量在线求购!
知嘟嘟
我要发布
联系电话:13336804447
知嘟嘟经纪人
收藏
专利号: 2023236060495
申请人: 南通金百吉五金制造有限公司
专利类型:实用新型
专利状态:已下证
专利领域: 磨削;抛光
更新日期:2025-01-20
缴费截止日期: 暂无
价格&联系人
年费信息
委托购买

摘要:

权利要求书:

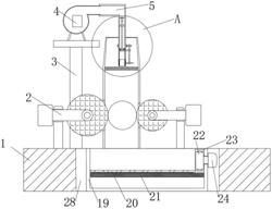
1.一种不锈钢制造用管外壁抛光装置,包括底座(1)、鼓风机支架(3)、鼓风机(4),其特征在于,所述底座(1)上设有两个抛光机(2),所述两个抛光机(2)呈对称设置,所述底座(1)上设有防尘壳支架(26),所述防尘壳支架(26)上固定连接有防尘壳(18),所述防尘壳(18)与两个抛光机(2)配合设置,所述鼓风机(4)的出风口固定连接有传风管(5),所述传风管(5)远离鼓风机(4)的一端贯穿防尘壳(18)设置,所述传风管(5)内固定连接有限位环(8),所述限位环(8)上转动连接有转轴(7),所述转轴(7)的顶端固定连接有小型螺旋桨(6),所述传风管(5)的外壁上固定连接有主齿轮(9),所述传风管(5)远离鼓风机(4)的一端转动连接有转动风管(11),所述转轴(7)和转动风管(11)内侧壁固定连接,所述转动风管(11)远离传风管(5)的一端固定连接有软管(12),所述软管(12)远离转动风管(11)的一端固定连接有活动风管(16),所述转动风管(11)的外壁上固定连接有传动杆(14),所述传动杆(14)上转动连接有工作轴(13),所述工作轴(13)上端固定连接有副齿轮(10),所述副齿轮(10)和主齿轮(9)啮合设置,所述工作轴(13)底端设有推动装置,所述底座(1)上还设有不锈钢管固定装置,所述底座(1)内还设有粉尘清理装置。

2.根据权利要求1所述的一种不锈钢制造用管外壁抛光装置,其特征在于,所述粉尘清理装置包括设置于底座(1)内的工作槽(28),所述工作槽(28)内设置有箱体(19),所述箱体(19)和工作槽(28)之间设有电机(24),所述箱体(19)靠近电机(24)的侧壁上转动连接有两个齿盘(22),所述电机(24)的工作端和两个齿盘(22)其中一个连接,两个所述齿盘(22)上共同设有链板(23),所述链板(23)上固定连接有毛刷(20),所述箱体(19)两侧壁之间设有隔尘板(21),所述隔尘板(21)的一侧设有灰尘收集盒(27),所述灰尘收集盒(27)和箱体(19)的侧壁滑动连接。

3.根据权利要求1所述的一种不锈钢制造用管外壁抛光装置,其特征在于,所述推动装置包括和工作轴(13)固定连接的椭圆板(15),所述椭圆板(15)和活动风管(16)配合设置。

4.根据权利要求1所述的一种不锈钢制造用管外壁抛光装置,其特征在于,所述不锈钢管固定装置包括两个固定环(25)。

5.根据权利要求1所述的一种不锈钢制造用管外壁抛光装置,其特征在于,所述活动风管(16)和抛光机(2)之间设置有防尘挡板(17),所述防尘挡板(17)固定连接在防尘壳(18)的内壁上。

6.根据权利要求2所述的一种不锈钢制造用管外壁抛光装置,其特征在于,所述灰尘收集盒(27)上固定连接有拉环(29)。