欢迎来到知嘟嘟! 联系电话:13336804447 卖家免费入驻,海量在线求购! 卖家免费入驻,海量在线求购!
知嘟嘟
我要发布
联系电话:13336804447
知嘟嘟经纪人
收藏
专利号: 2023235061471
申请人: 广州启蒙知识产权服务有限公司
专利类型:实用新型
专利状态:已下证
专利领域: 手动工具;轻便机动工具;手动器械的手柄;车间设备;机械手
更新日期:2025-01-10
缴费截止日期: 暂无
价格&联系人
年费信息
委托购买

摘要:

权利要求书:

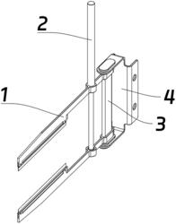
1.一种切割机械手,其特征在于,包括:两个夹爪机构(1)、电动推杆(2)、滑杆(3)和安装座(4),其中,所述滑杆(3)的两端均和所述安装座(4)相连;

两个所述夹爪机构(1)中的每一个,均包括:夹爪主体(11)和刀片(15),所述夹爪主体(11)的尾部设置有滑动槽(12),所述夹爪主体(11)的中部设置有装配槽(13),所述夹爪主体(11)的侧边设置有横截面呈十字形的刀片槽(14),所述刀片(15)的横截面呈十字形,其中,所述刀片(15)设置在所述夹爪主体(11)的所述刀片槽(14)内;

所述夹爪主体(11)的所述滑动槽(12)套设在所述滑杆(3)上;

所述电动推杆(2)的固定部分设置在两个所述夹爪机构(1)中的一个中的所述夹爪主体(11)的所述装配槽(13)内,所述电动推杆(2)的活动端设置在两个所述夹爪机构(1)中的另一个中的所述夹爪主体(11)的所述装配槽(13)内。