欢迎来到知嘟嘟! 联系电话:13336804447 卖家免费入驻,海量在线求购! 卖家免费入驻,海量在线求购!
知嘟嘟
我要发布
联系电话:13336804447
知嘟嘟经纪人
收藏
专利号: 202323350134X
申请人: 南京苏绿环境工程咨询有限公司
专利类型:实用新型
专利状态:已下证
专利领域: 船舶或其他水上船只;与船有关的设备
更新日期:2025-01-10
缴费截止日期: 暂无
价格&联系人
年费信息
委托购买

摘要:

权利要求书:

1.一种水域环境监测浮标,其特征在于:包括:

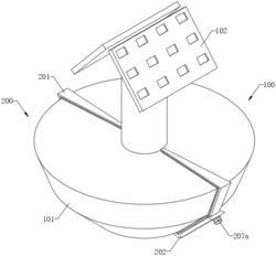
主体单元(100),包括浮标体(101),所述浮标体(101)的顶端固定安装有监测主体(102);

清洁单元(200),包括两个第一毛刷(201),所述第一毛刷(201)外壁的底部均穿插连接有第二毛刷(202),所述第二毛刷(202)的内壁的均穿插连接有连接块(203),两个所述连接块(203)的一端均与设置块(204)固定连接,所述设置块(204)的顶端开设的贯穿孔的内壁固定设有连接轴(205),所述监测主体(102)的内部固定安装有电机(206),所述连接轴(205)的顶端分别穿过浮标体(101)和监测主体(102),且与电机(206)的输出端固定连接,所述浮标体(101)的外部设有连接组件(207)。

2.根据权利要求1所述的一种水域环境监测浮标,其特征在于:所述连接组件(207)包括两个旋钮(207a),所述第一毛刷(201)一侧的底部和第二毛刷(202)一侧的顶部均开设有螺纹孔,位置对应的两个所述螺纹孔的内壁均与一个对应的旋钮(207a)螺纹连接。

3.根据权利要求2所述的一种水域环境监测浮标,其特征在于:所述连接组件(207)还包括四个限制块(207b),所述连接块(203)的两侧均开设有两个连接槽(207c),所述限制块(207b)的外壁均与对应的连接槽(207c)穿插连接,所述连接槽(207c)的内壁均固定设有弹簧(207d)。

4.根据权利要求3所述的一种水域环境监测浮标,其特征在于:所述连接组件(207)还包括四个推件(207e),所述第二毛刷(202)底部的两侧均开设有活动口(207f),所述活动口(207f)的内壁均与对应的推件(207e)穿插连接,所述推件(207e)的内侧均固定设有推块(207g)。

5.根据权利要求4所述的一种水域环境监测浮标,其特征在于:所述弹簧(207d)的一端均与对应的限制块(207b)固定连接,所述限制块(207b)外壁的一侧均与对应的活动口(207f)穿插连接。

6.根据权利要求1所述的一种水域环境监测浮标,其特征在于:所述电机(206)通过外接控制开关与外接电源电性连接。