欢迎来到知嘟嘟! 联系电话:13336804447 卖家免费入驻,海量在线求购! 卖家免费入驻,海量在线求购!
知嘟嘟
我要发布
联系电话:13336804447
知嘟嘟经纪人
收藏
专利号: 2023232844732
申请人: 江苏润端建设工程有限公司
专利类型:实用新型
专利状态:已下证
专利领域: 农业;林业;畜牧业;狩猎;诱捕;捕鱼
更新日期:2025-01-10
缴费截止日期: 暂无
价格&联系人
年费信息
委托购买

摘要:

权利要求书:

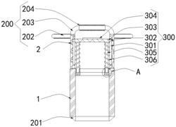
1.一种园林绿化施工用的苗木移栽设备,包括移栽筒(1),其特征在于:所述移栽筒(1)的顶部固定连接有两个连接柱(2),所述连接柱(2)的外侧安装有手持组件(200),所述移栽筒(1)的内部安装有对苗木进行移栽的移栽组件(300);

所述移栽组件(300)包括分别开设在两个连接柱(2)相对一侧的两个滑槽(301),所述滑槽(301)的内部滑动连接有滑块(302),两个所述滑块(302)相对一侧之间固定连接有连接板(303),所述连接板(303)的顶部固定连接有海绵块(304),所述连接板(303)的底部固定连接有两个移动杆(305),所述连接板(303)的底部固定连接有两个弹簧(306),两个所述移动杆(305)的底端之间固定连接有第一环形板(307),所述移栽筒(1)的内部固定连接有第二环形板(308),所述第二环形板(308)的顶部开设有两个通孔(309)。

2.根据权利要求1所述的一种园林绿化施工用的苗木移栽设备,其特征在于:所述手持组件(200)包括固定连接在移栽筒(1)底部的锥形头(201),两个所述连接柱(2)相背的一侧均固定连接有握杆(202),两个所述连接柱(2)的顶端之间固定连接有连接杆(203),所述连接杆(203)的外侧包裹有防滑套(204)。

3.根据权利要求2所述的一种园林绿化施工用的苗木移栽设备,其特征在于:所述连接杆(203)为U形杆,所述握杆(202)的外侧包裹有防滑层。

4.根据权利要求1所述的一种园林绿化施工用的苗木移栽设备,其特征在于:所述滑块(302)的长度等于滑槽(301)的长度,所述滑块(302)的宽度等于滑槽(301)的宽度。

5.根据权利要求1所述的一种园林绿化施工用的苗木移栽设备,其特征在于:所述连接板(303)的左右两侧分别与两个连接柱(2)相对的一侧滑动连接。

6.根据权利要求1所述的一种园林绿化施工用的苗木移栽设备,其特征在于:所述移动杆(305)的底端贯穿第二环形板(308)和通孔(309)并延伸至第二环形板(308)的底部与第一环形板(307)固定连接。

7.根据权利要求1所述的一种园林绿化施工用的苗木移栽设备,其特征在于:所述移动杆(305)的直径等于通孔(309)的直径,所述移栽筒(1)的顶部与第二环形板(308)的顶部齐平。

我要求购
我不想找了,帮我找吧
您有专利需要变现?
我要出售
智能匹配需求,快速出售