欢迎来到知嘟嘟! 联系电话:13336804447 卖家免费入驻,海量在线求购! 卖家免费入驻,海量在线求购!
知嘟嘟
我要发布
联系电话:13336804447
知嘟嘟经纪人
收藏
专利号: 2023232546748
专利类型:实用新型
专利状态:未下证
专利领域: 暂无
更新日期:2024-06-12
缴费截止日期: 暂无
价格&联系人
年费信息
委托购买

摘要:

权利要求书:

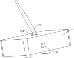
1.一种高频抗干扰能力强的5G天线,包括:安装部(1);接线口(101),开设在所述安装部(1)的一侧表面上,所述安装部(1)远离接线口(101)一侧表面的中心处开设有滑槽(102);其特征在于,还包括:天线本体(103),活动嵌设在所述安装部(1)的内壁上,所述天线本体(103)的外表面固定安装有限位片(104),所述限位片(104)的外表面轴承连接在安装部(1)的表面上;

从动齿轮(105),固定安装在所述天线本体(103)远离限位片(104)的一侧表面上。

2.根据权利要求1所述的一种高频抗干扰能力强的5G天线,其特征在于:所述安装部(1)远离限位片(104)的一侧内壁固定安装有驱动电机(106),所述驱动电机(106)远离滑槽(102)的输出端表面固定安装有传动齿轮(107)。

3.根据权利要求2所述的一种高频抗干扰能力强的5G天线,其特征在于:所述传动齿轮(107)与从动齿轮(105)相啮合,所述安装部(1)靠近驱动电机(106)的一侧表面固定安装有控制芯片(108)。

4.根据权利要求3所述的一种高频抗干扰能力强的5G天线,其特征在于:所述安装部(1)远离控制芯片(108)的一侧内壁固定安装有智能芯片(110)。

5.根据权利要求4所述的一种高频抗干扰能力强的5G天线,其特征在于:所述安装部(1)靠近滑槽(102)的一侧内壁固定安装有信号接收器(109)。

6.根据权利要求5所述的一种高频抗干扰能力强的5G天线,其特征在于:所述滑槽(102)的内部活动嵌设有双向丝杆(2),所述双向丝杆(2)相对处外表面均活动套设有滑块(201)。

7.根据权利要求6所述的一种高频抗干扰能力强的5G天线,其特征在于:两个所述滑块(201)的外表面均活动连接在滑槽(102)的内壁上。

8.根据权利要求7所述的一种高频抗干扰能力强的5G天线,其特征在于:两个所述滑块(201)远离安装部(1)的一侧表面均固定安装有安装固定块(202)。