欢迎来到知嘟嘟! 联系电话:13336804447 卖家免费入驻,海量在线求购! 卖家免费入驻,海量在线求购!
知嘟嘟
我要发布
联系电话:13336804447
知嘟嘟经纪人
收藏
专利号: 2023232397090
申请人: 六安远志模塑科技有限公司
专利类型:实用新型
专利状态:已下证
专利领域: 塑料的加工;一般处于塑性状态物质的加工
更新日期:2025-01-10
缴费截止日期: 暂无
价格&联系人
年费信息
委托购买

摘要:

权利要求书:

1.一种注塑模具延长顶出行程装置,其特征在于,包括:

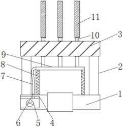
底板(1),所述底板(1)的外部两侧均安装有连接架(2),且连接架(2)的另一端连接有顶板(3),所述顶板(3)与底板(1)之间设置有连接板(9),且连接板(9)的底部两侧均安装有弹簧(8),所述弹簧(8)的另一端与底板(1)的外壁相连接,且底板(1)的一端开设有收纳腔(4),所述收纳腔(4)的内部安置有微型气泵(5),且收纳腔(4)的顶部插接有连接管(6),所述连接管(6)的进气口与微型气泵(5)的出气管相连接,且连接管(6)的出气口(13)设置有软管(7),所述软管(7)的另一端与连接板(9)的一端相连接,且连接板(9)的内部设置有气道(15),所述连接板(9)的顶部连接有连接杆(10),且连接杆(10)的底部与气道(15)的一端相连通,所述连接杆(10)的顶部安装有螺纹块(14),且螺纹块(14)的顶部设置有出气口(13),所述螺纹块(14)的外部套设有顶针(11),且顶针(11)的外壁设置有气孔(12)。

2.根据权利要求1所述的一种注塑模具延长顶出行程装置,其特征在于:所述底板(1)的中部设置有通孔,且底板(1)与连接板(9)通过弹簧(8)构成弹力结构。

3.根据权利要求1所述的一种注塑模具延长顶出行程装置,其特征在于:所述顶板(3)的内部设置有顶出孔,且顶板(3)与连接架(2)之间为固定连接。

4.根据权利要求1所述的一种注塑模具延长顶出行程装置,其特征在于:所述连接管(6)与软管(7)、气道(15)之间为连通状态,且气道(15)与连接杆(10)之间为固定连接。

5.根据权利要求1所述的一种注塑模具延长顶出行程装置,其特征在于:所述连接杆(10)的内部呈中空结构,且连接杆(10)与螺纹块(14)之间为固定连接。

6.根据权利要求1所述的一种注塑模具延长顶出行程装置,其特征在于:所述顶针(11)的内壁设置有内螺纹,且顶针(11)的外径与顶板(3)的顶出孔内径相等。

我要求购
我不想找了,帮我找吧
您有专利需要变现?
我要出售
智能匹配需求,快速出售