欢迎来到知嘟嘟! 联系电话:13336804447 卖家免费入驻,海量在线求购! 卖家免费入驻,海量在线求购!
知嘟嘟
我要发布
联系电话:13336804447
知嘟嘟经纪人
收藏
专利号: 2023231763545
申请人: 秦安年
专利类型:实用新型
专利状态:已下证
专利领域: 一般的物理或化学的方法或装置
更新日期:2025-01-10
缴费截止日期: 暂无
价格&联系人
年费信息
委托购买

摘要:

权利要求书:

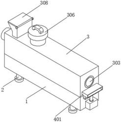
1.一种用于水利工程的废水过滤装置,包括收集箱(1),其特征在于:所述收集箱(1)底面固定设置有支撑腿(2),所述支撑腿(2)的数量为四个且均匀分布在收集箱(1)四周底面,所述收集箱(1)顶面固定设置有过滤机构(3),所述收集箱(1)右侧面固定设置有出料机构(4);

所述过滤机构(3)包括过滤部(31)和动力部(32),所述动力部(32)右侧面和过滤部(31)左侧面固定连接;

所述过滤部(31)包括过滤箱(301),所述过滤箱(301)底面和收集箱(1)顶面固定连接;

所述出料机构(4)包括出料部(41)和连接部(42),所述出料部(41)底面和连接部(42)顶面固定连接;

所述出料部(41)包括出料通道(401),所述出料通道(401)左端面固定贯穿过滤箱(301)右侧面延伸至过滤箱(301)内部并和过滤箱(301)内部贯通连接。

2.根据权利要求1所述的一种用于水利工程的废水过滤装置,其特征在于:所述过滤箱(301)左侧面固定设置有电机(302),所述电机(302)输出杆右端面贯穿过滤箱(301)左侧面延伸至过滤箱(301)内部,所述电机(302)输出杆右端面固定设置有螺旋杆(303),所述螺旋杆(303)右端表面和过滤箱(301)内壁由轴承转动连接。

3.根据权利要求1所述的一种用于水利工程的废水过滤装置,其特征在于:所述过滤箱(301)底面固定开设有通口,所述过滤箱(301)内部和收集箱(1)内部通过通口贯通连接,通口内壁固定设置有过滤网(304),所述过滤箱(301)顶面设置有进液管(305),所述进液管(305)底端面固定贯穿过滤箱(301)顶面延伸至过滤箱(301)内部并和过滤箱(301)内部贯通连接。

4.根据权利要求3所述的一种用于水利工程的废水过滤装置,其特征在于:所述进液管(305)顶端表面密封套设有封口塞(306),所述过滤箱(301)左端上表面设置有进料通道(307),所述进料通道(307)底端面固定贯穿过滤箱(301)左端上表面延伸至过滤箱(301)内部并和过滤箱(301)内部贯通连接。

5.根据权利要求4所述的一种用于水利工程的废水过滤装置,其特征在于:所述进料通道(307)顶面设置有盖板(308),所述进料通道(307)顶面和盖板(308)底面密封接触,所述进料通道(307)右端顶面和盖板(308)右端底面由铰接杆铰接。

6.根据权利要求1所述的一种用于水利工程的废水过滤装置,其特征在于:所述收集箱(1)右侧面固定设置有装置块(402),所述装置块(402)内部底面固定设置有液压杆(403),所述液压杆(403)输出杆顶端面固定设置有遮挡板(404),所述遮挡板(404)顶端表面固定套设有密封套(405),所述遮挡板(404)顶端面贯穿出料通道(401)底面延伸至出料通道(401)内部。

7.根据权利要求6所述的一种用于水利工程的废水过滤装置,其特征在于:所述遮挡板(404)和密封套(405)侧面和出料通道(401)内壁摩擦滑动接触,所述收集箱(1)左侧面设置有排水管(406),所述排水管(406)右端面固定贯穿收集箱(1)左侧面延伸至收集箱(1)内部并和收集箱(1)内部贯通连接,所述排水管(406)右端内壁固定设置有电磁阀(407)。