欢迎来到知嘟嘟! 联系电话:13336804447 卖家免费入驻,海量在线求购! 卖家免费入驻,海量在线求购!
知嘟嘟
我要发布
联系电话:13336804447
知嘟嘟经纪人
收藏
专利号: 202323158705X
专利类型:实用新型
专利状态:未下证
专利领域: 暂无
更新日期:2024-05-22
缴费截止日期: 暂无
价格&联系人
年费信息
委托购买

摘要:

权利要求书:

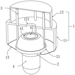
1.一种抗冲击碰撞的监控设备,包括监控器(4),其特征在于:还包括支撑仓体(1)、球型座(2)、弹簧伸缩杆(3);

所述支撑仓体(1)包括收纳式圆柱仓(11)和伸缩仓(12),所述伸缩仓(12)与安装面固定连接,所述收纳式圆柱仓(11)固定连接在所述伸缩仓(12)的下方,所述伸缩仓(12)的内壁顶面固定连接有四个环形分布的所述弹簧伸缩杆(3),所述弹簧伸缩杆(3)的伸缩端延伸至所述收纳式圆柱仓(11)的内部,四个所述弹簧伸缩杆(3)伸缩端固定连接有一个固定环(21),所述球型座(2)固定连接在所述固定环(21)的内部,所述固定环(21)的顶部为开放结构,所述固定环(21)内部转动连接有转动球(41),所述转动球(41)与所述球型座(2)通过若干个牵引拉簧(43)固定连接,所述牵引拉簧(43)一端固定连接在所述转动球(41)的中部,所述牵引拉簧(43)的另一端固定连接在所述球型座(2)的上端或者下端。

2.根据权利要求1所述的一种抗冲击碰撞的监控设备,其特征在于:所述转动球(41)的内部安装有触发报警器(5),所述转动球(41)的外壁固定连接有用于控制所述触发报警器(5)启闭的触发开关(51)。

3.根据权利要求1所述的一种抗冲击碰撞的监控设备,其特征在于:所述转动球(41)的顶部开设有活动式过线孔(42),所述伸缩仓(12)的底部开设有用于穿线的固定式过线孔(121)。

4.根据权利要求1所述的一种抗冲击碰撞的监控设备,其特征在于:所述收纳式圆柱仓(11)的内径大于所述转动球(41)的直径,所述收纳式圆柱仓(11)与所述转动球(41)之间通过柔性封闭套(13)进行封闭。

我要求购
我不想找了,帮我找吧
您有专利需要变现?
我要出售
智能匹配需求,快速出售