欢迎来到知嘟嘟! 联系电话:13336804447 卖家免费入驻,海量在线求购! 卖家免费入驻,海量在线求购!
知嘟嘟
我要发布
联系电话:13336804447
知嘟嘟经纪人
收藏
专利号: 2023231162223
申请人: 商洛江兴新材料科技有限公司
专利类型:实用新型
专利状态:已下证
专利领域: 干燥
更新日期:2025-04-18
缴费截止日期: 暂无
价格&联系人
年费信息
委托购买

摘要:

权利要求书:

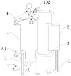
1.一种流化床烘干余热回收装置,包括流化床本体(1),其特征在于:所述流化床本体(1)一侧设置有进风管(101),所述流化床本体(1)顶部上设置有出风管(102);

所述流化床本体(1)一侧设置有过滤机构(2),所述出风管(102)与过滤机构(2)连接,所述过滤机构(2)底部设置有连接管(3);

所述流化床本体(1)内壁设置有加热管,所述加热管一端与连接管(3)连接,所述加热管另一端连接排风口。

2.根据权利要求1所述的一种流化床烘干余热回收装置,其特征在于:所述过滤机构(2)包括壳体(201),所述壳体(201)内设置有第一过滤网(202),所述第一过滤网(202)上方设置有除毛絮组件,所述第一过滤网(202)下方设置有除杂组件。

3.根据权利要求2所述的一种流化床烘干余热回收装置,其特征在于:所述除毛絮组件包括连接轴(203),所述连接轴(203)与第一过滤网(202)转动连接,所述连接轴(203)上设置有多个叶片(204);

所述第一过滤网(202)底部设置有电机(207),所述电机(207)的输出轴与连接轴(203)连接。

4.根据权利要求3所述的一种流化床烘干余热回收装置,其特征在于:所述叶片(204)呈螺旋状结构。

5.根据权利要求2所述的一种流化床烘干余热回收装置,其特征在于:所述除杂组件包括多个相对设置的挡板(205),位于两侧所述挡板(205)位置错开设置,相对的所述挡板(205)的端部交叉设置。

6.根据权利要求2所述的一种流化床烘干余热回收装置,其特征在于:所述第一过滤网(202)倾斜设置。

7.根据权利要求3所述的一种流化床烘干余热回收装置,其特征在于:所述连接轴(203)顶部设置有连杆(206),所述连杆(206)端部与壳体(201)内壁连接,所述连接轴(203)与连杆(206)转动连接。

8.根据权利要求1所述的一种流化床烘干余热回收装置,其特征在于:所述加热管呈螺旋管状结构。

9.根据权利要求2所述的一种流化床烘干余热回收装置,其特征在于:所述流化床本体(1)上设置有进料口(4)和出料口(5);

所述壳体(201)底部设置有支撑座(6)。