欢迎来到知嘟嘟! 联系电话:13336804447 卖家免费入驻,海量在线求购! 卖家免费入驻,海量在线求购!
知嘟嘟
我要发布
联系电话:13336804447
知嘟嘟经纪人
收藏
专利号: 2023231079599
申请人: 六安健祥中药材有限公司
专利类型:实用新型
专利状态:已下证
专利领域: 干燥
更新日期:2025-01-20
缴费截止日期: 暂无
价格&联系人
年费信息
委托购买

摘要:

权利要求书:

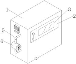
1.一种内循环式预干燥装置,其特征在于,包括:预干箱(1),为内循环式预干燥装置主体;

抽风机(4),其安装于所述预干箱(1)的一侧;

加热腔(9),设置于所述预干箱(1)的内部下方;

送气管(5),其于所述抽风机(4)连接;

连通管(7),其连接于所述预干箱(1)的另一侧;

滤网(6),其分别设置于所述送气管(5)和连通管(7)的内部;

导水板(10),其固定于所述加热腔(9)的内部上方;

转杆(12),其设置于所述预干箱(1)内部;

锤击球(14)和齿轮(16),其均设置于所述转杆(12)的外表面;

齿带(11),其套接于所述齿轮(16)的外表面。

2.根据权利要求1所述的内循环式预干燥装置,其特征在于,所述预干箱(1)还包括:密封门(2),其安装于所述预干箱(1)的外表面上方;

玻璃窗(3),其设置于所述密封门(2)的外表面;

弹性板(8),其固定于所述预干箱(1)的内部,且所述弹性板(8)位于所述转杆(12)和送气管(5)之间。

3.根据权利要求1所述的内循环式预干燥装置,其特征在于,所述预干箱(1)还包括:加热棒(13),其安装于所述加热腔(9)的内部两侧;

电机(15),其安装于所述预干箱(1)的背部,且所述电机(15)的输出端与一组所述转杆(12)连接。

4.根据权利要求2所述的内循环式预干燥装置,其特征在于,所述预干箱(1)还包括:所述锤击球(14)设置有多组,且所述锤击球(14)由绳子和橡胶球组合而成,减少对所述弹性板(8)的锤击破坏。

5.根据权利要求2所述的内循环式预干燥装置,其特征在于,所述预干箱(1)还包括:所述玻璃窗(3)采用亚克力材料制作而成,其透明性能好,便于人员查看内部情况。

6.根据权利要求1所述的内循环式预干燥装置,其特征在于,所述预干箱(1)还包括:所述转杆(12)设置有多组,且所述转杆(12)从左到右等距排布。

7.根据权利要求1所述的内循环式预干燥装置,其特征在于,所述预干箱(1)还包括:所述导水板(10)设置有多组,且所述导水板(10)从左到右等距排布,便于热空气中的水分通过所述导水板(10)落入所述加热腔(9),以便于到达回收。